EasyManua.ls Logo

Karel MS128 - III.5. External Announcement System

Karel MS128
90 pages
Print Icon
To Next Page IconTo Next Page
To Next Page IconTo Next Page
To Previous Page IconTo Previous Page
To Previous Page IconTo Previous Page
Loading...
Karel MS128 Installation & Maintenance Guide
Edition 3.2
63
III.5. EXTERNAL ANNOUNCEMENT SYSTEM
C
ABLING
:
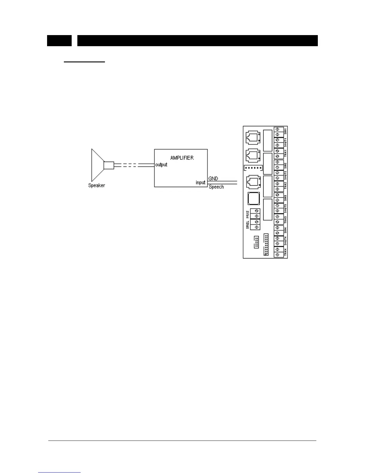
Any external announcement system can be connected to MS128 system
through the doorphone socket on MS128 CPUKON card. For making this
connection, the free end of the cable (with 4-pin RJ plug) should be passed
through the cable hole on the left cover of the system cabinet and then
attached to the doorphone socket on the MS128 CPUKON card. The following
figure illustrates this installation.
Figure B-20
MS128 system is enhanced with a facility, which provides the efficient use of
your amplifier by way of its external relay (see section III.12). The external relay
of MS128 system can be used to switch the power of the amplifier of the
announcement system. For this, the power of the amplifier must be connected
through the external relay on the MS128 CPUKON card using the 2-pin XREL
connector and the system must be programmed accordingly.
The following figure is to give an idea about these connections.

Table of Contents