EasyManua.ls Logo

Kaypro II - Page 56

Default Icon
77 pages
Print Icon
To Next Page IconTo Next Page
To Next Page IconTo Next Page
To Previous Page IconTo Previous Page
To Previous Page IconTo Previous Page
Loading...
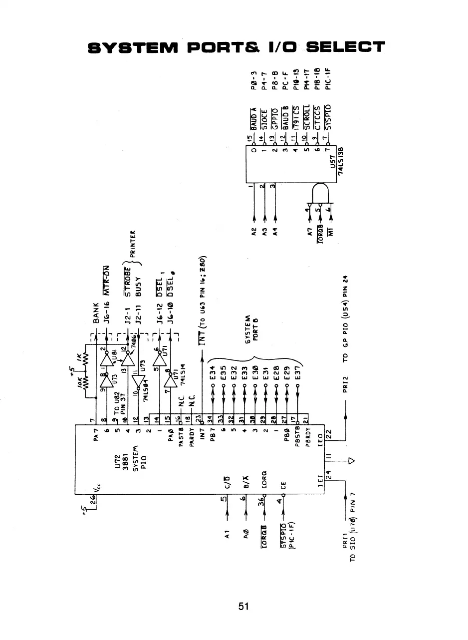
SYSTEM PORT& I/O SELECT
51

Related product manuals