EasyManua.ls Logo

Keiser INFINITY 003010BP - ANNUAL MAINTENANCE; Annual Service and Inspection

Keiser INFINITY 003010BP
24 pages
Print Icon
To Next Page IconTo Next Page
To Next Page IconTo Next Page
To Previous Page IconTo Previous Page
To Previous Page IconTo Previous Page
Loading...
PERFORMANCE TRAINER | OPERATION MANUAL
18
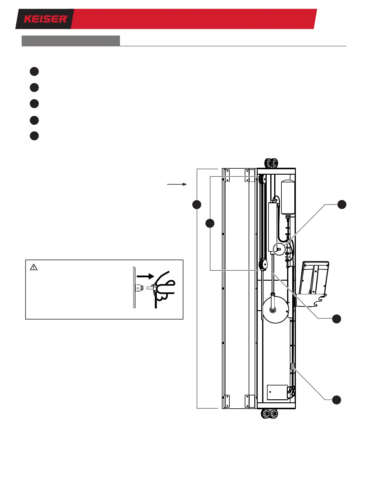
Do not operate the equipment during the annual maintenance procedure. The following maintenance is recommended annually
or at the time batteries are replaced:
1. Clean:
Wipe any accumulated dust on the interior and exterior of the Performance Trainer using a clean cloth.
2. Visual inspection of Cables (external and internal):
Ensure that the Cables have no tears/fraying.
3. Replace Mufer if discoloration is present:
Tool required: 11/16 inch (17 mm) Combination Wrench.
4. Lubricate Cylinder Rod:
Wipe the cylinder rod clean and coat lightly with clean, SAE 30 motor oil, or with a silicon-based spray.
5. Replace Air Filter if element is dirty (element turns a bright pink or red color):
Tools required: Small Needle Nose Pliers, Cutter Tool (to cut off ared end of tubes).
1
2
3
4
5
ANNUAL MAINTENANCE
Figure 12. Annual Maintenance
Contact Keiser Customer Support for replacement part(s) order, or for any matters regarding the safe operation of your
Performance Trainer (see back cover for contact information).
To open the Performance Trainer, remove
the ve Phillips Screws along the left side
using a #3 Phillips screwdriver.
3
4
5
1
2
WARNING: HIGH-PRESSURE
AIR. DISCONNECT THE EQUIPMENT
FROM THE AIR SUPPLY AND
RELEASE ALL THE AIR IN THE
EQUIPMENT (“ THUMB BUTTON)
BEFORE PERFORMING ROUTINE
MAINTENANCE.

Related product manuals