EasyManua.ls Logo

Keithley 2200 Series - Page 42

Keithley 2200 Series
66 pages
To Next Page IconTo Next Page
To Next Page IconTo Next Page
To Previous Page IconTo Previous Page
To Previous Page IconTo Previous Page
Loading...
Performance Ve rication
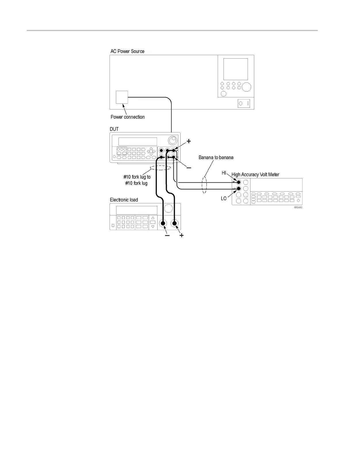
Figure 5: Voltage accuracy, regulation, and protection test setup. The channel
1 test setup is shown.
2. Set the voltmeter as follows:
a. Set to measure DC volts.
b. Set to auto range.
c. Verify that the Math mx+b function is disabled (shift DCV), assuring that
volts are being read.
3. Set the electronic load as follows:
a. Set to Constant Current.
b. Set to draw a constant current at the test current specied for the channel
under test (CUT) in the table for checking DC Voltage Accuracy without
Remote Sense. (See Table 16 on p age 17.)
4. Set the CUT to the full scale (FS) output current.
5. Set the CUT to 0% of the FS output voltage (0 V).
6. Turn the DUT output on.
32 Series 2200 Multichannel Programmable DC Power Supplies Technical Reference

Other manuals for Keithley 2200 Series

Related product manuals