EasyManua.ls Logo

Kenmore 348e - Piezas y Características

Kenmore 348e
49 pages
Print Icon
To Next Page IconTo Next Page
To Next Page IconTo Next Page
To Previous Page IconTo Previous Page
To Previous Page IconTo Previous Page
Loading...
- 6 -
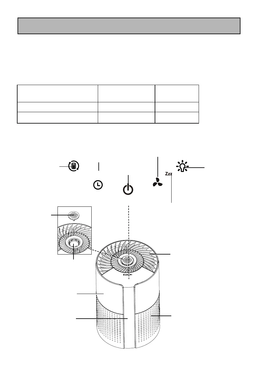
PIEZAS Y CARACTERÍSTICAS
Es importante conocer las piezas y características de su puricador de
aire para garantizar su uso adecuado y seguro. Revíselas antes de usar
su puricador de aire.
PIEZAS DE REPUESTO
Para pedir una pieza de repuesto, llame al 1-877-531-7321 (EUA) /
1-844-608-3081 (CA), o pídala en el sitio web de Kenmore.
Artículo
N° de parte
(Estados Unidos)
N° de parte
(Canadá)
Filtro Compuesto 701002102 701002102
Adaptador de Corriente 701002101 701002101
Salida de aire
Entrada de aire
Cuerpo Principal
Luz
Almohadilla
aromática
(preinstalada)
Cubierta
para Aromas
2h
8h
4h
Timer
Filter
On/Off
Speed
Light
Botón de
Reinicio del
ltro
Botón de
ENCENDIDO
/ APAGADO
Velocidad del Ventilador /
Botón en Modo de Espera
Botón de
Luz
Indicador
de Modo de
Reposo
Botón del
temporizador/
Indicadores

Related product manuals