EasyManua.ls Logo

Kenmore 348e - Pièces et Fonctionnalités

Kenmore 348e
49 pages
Print Icon
To Next Page IconTo Next Page
To Next Page IconTo Next Page
To Previous Page IconTo Previous Page
To Previous Page IconTo Previous Page
Loading...
- 6 -
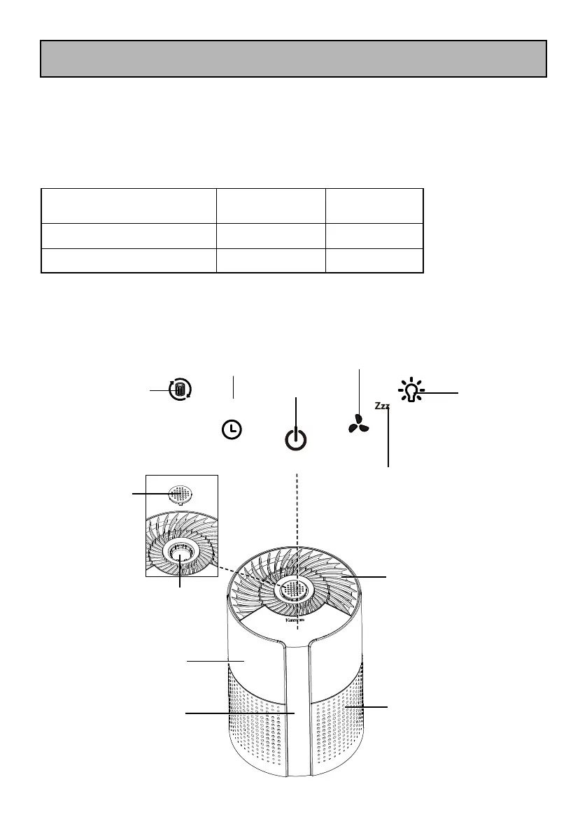
PIÈCES ET FONCTIONNALITÉS
Ilestimportantdeconnaîtrelespiècesetlescaractéristiquesde
votrepuricateurd’airpourgarantirsonutilisationcorrecteetsûre.
Examinez-lesavantd’utiliservotrepuricateurd’air.
PIÈCES DE RECHANGE
Pourcommanderunepiècederechange,appelezle1-877-531-7321
(É.-U.)/1-844-608-3081(CA),oucommandez-lasurlesiteWebde
Kenmore.
Élément
Pièce N°
(États-Unis)
Pièce N°
(Canada)
Filtrecomposite 701002102 701002102
AdaptateurÉlectrique 701002101 701002101
Corpsprincipal
Entréed'air
Lumière
Coussinetd'arômes
(Préinstallé)
Couvercle
du diffuseur
d'arômes
2h
8h
4h
Timer
Filter
On/Off
Speed
Light
Boutonde
Réinitialisation
duFiltre
Boutonde
minuterie/
Indicateurs
Boutonvitessedu
ventilateur/modeveille
Bouton
d'éclairage
Indicateur
demode
veille
Bouton
MARCHE/
ARRÊT
Sortied'air

Related product manuals