EasyManua.ls Logo

KUHN FA 392 - LOWERING THE CUTTERBAR AND ADJUSTMENTS FOR WORK; LOWERING THE CUTTERBAR; CUTTERBAR LEAD ADJUSTMENT; CUTTERBAR OFFSET ADJUSTMENT

KUHN FA 392
28 pages
Print Icon
To Next Page IconTo Next Page
To Next Page IconTo Next Page
To Previous Page IconTo Previous Page
To Previous Page IconTo Previous Page
Loading...
- 12 -
LOWERING THE CUTTERBAR AND ADJUSTMENTS FOR WORK
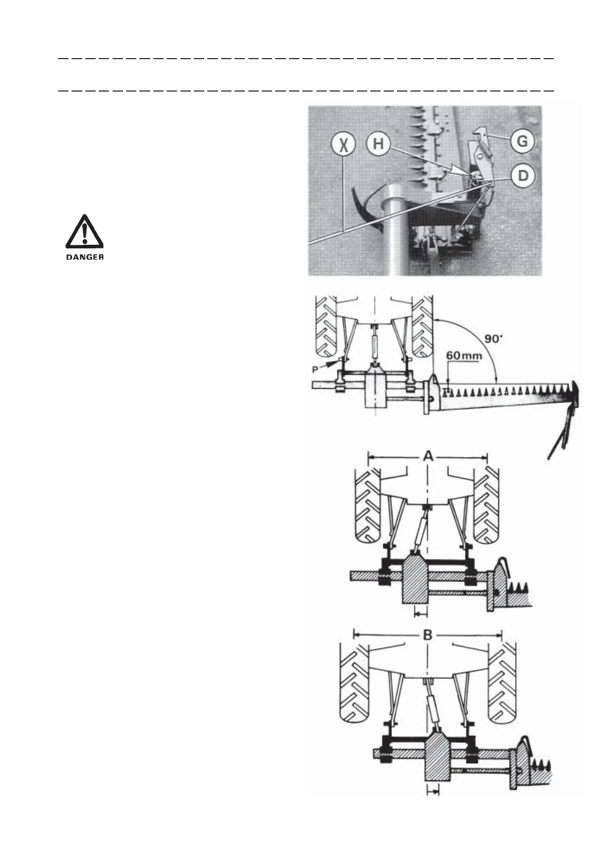
1. Lowering the cutterbar
To lower the cutterbar from the transport position to the
working position, first fit linchpin (D) into hole (H) and
pull cord (X) to release latch (G). Then manually lower
bar and remove knive guard.
ALWAYS DISCONNECT PTO SHAFT
FROM THE TRACTOR PTO BEFORE
LOWERING THE CUTTERBAR INTO
THE WORKING POSITION.
2. Cutterbar lead adjustment
To compensate for rearward thrust on the cutterbar when
in work, the cutterbar has been set with a forward lead
on the outer finger of 2 3/8" (6 cm). To ensure this posi-
tion is maintained, the linkage arms of the tractor must
be stabilised.
When measuring a 90° angle between the side of the
tractor wheel and the cutterbar, there must be a distance
of 60 mm between the set square and the inner finger.
Adjustment can be made by changing the position of the
left pin (P) (see photo on page 7). Three positions are
then obtainable.
3. Cutterbar offset adjustment
The cutterbar can be positioned to clear the tractor wheel
by moving the main mower drive assembly through the
3-point hitch frame.
A = Wheel centres minimum 3’8" (1136 mm)
B = Wheel centres minimum 4’10" (1456 mm)
The hitch frame (shown black) remains fixed. The main
mower drive assembly (shown grey) has a variable posi-
tion.

Related product manuals