EasyManua.ls Logo

Land UNO - Installing the uno Fibroptic Thermometer

Default Icon
40 pages
Print Icon
To Next Page IconTo Next Page
To Next Page IconTo Next Page
To Previous Page IconTo Previous Page
To Previous Page IconTo Previous Page
Loading...
User Guide User Guide
Page 7 Page 7
Fibroptic Thermometer
Fibroptic Thermometer
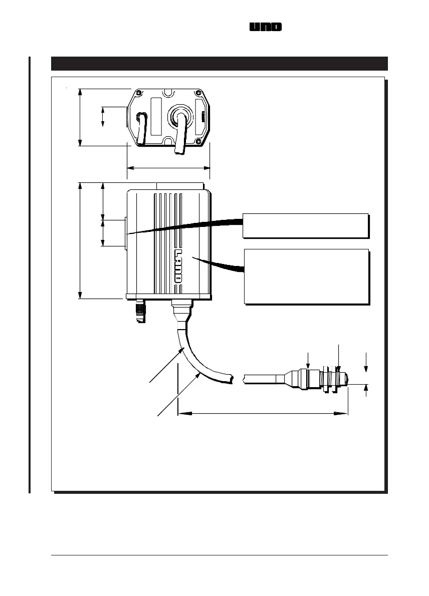
2.0 INSTALLING THE UNO FIBROPTIC THERMOMETER
Fig. 3 UNO Fibroptic thermometer installation dimensions UN970324
25/ 1.0 54.5/ 2.15
158/6.22
114/4.49
25/0.98
80.5/3.17
Minimum bend
Light guide length
All dim ensions in mill imetres/inches
SERIAL No.
TYPE:
18/0.71
radius 50/1.97
ingress
Recommended orientation of
therm om eter to prev ent
of water, and build up of dirt etc.
on electrical and lightguide
connectors
Mounting pad - 2 holes ¼" BSW
7/0.3 deep on 25/ 1.0 centres
Spacer
thread
M22 x 1.5
Approx. 160/6.30
required for optic head removal
L10 = 1000/39.37
L20 = 2000/78.74
L35 = 3500/137.80
2.0 INSTALLING THE UNO FIBROPTIC THERMOMETER
Fig. 3 UNO Fibroptic thermometer installation dimensions UN970324
25/ 1.0 54.5/ 2.15
158/6.22
114/4.49
25/0.98
80.5/3.17
Minimum bend
Light guide length
All dim ensions in mill imetres/inches
SERIAL No.
TYPE:
18/0.71
radius 50/1.97
ingress
Recommended orientation of
therm om eter to prev ent
of water, and build up of dirt etc.
on electrical and lightguide
connectors
Mounting pad - 2 holes ¼" BSW
7/0.3 deep on 25/ 1.0 centres
Spacer
thread
M22 x 1.5
Approx. 160/6.30
required for optic head removal
L10 = 1000/39.37
L20 = 2000/78.74
L35 = 3500/137.80
StockCheck.com

Related product manuals