EasyManua.ls Logo

Launch TLT235 - Page 37

Launch TLT235
50 pages
Print Icon
To Next Page IconTo Next Page
To Next Page IconTo Next Page
To Previous Page IconTo Previous Page
To Previous Page IconTo Previous Page
Loading...
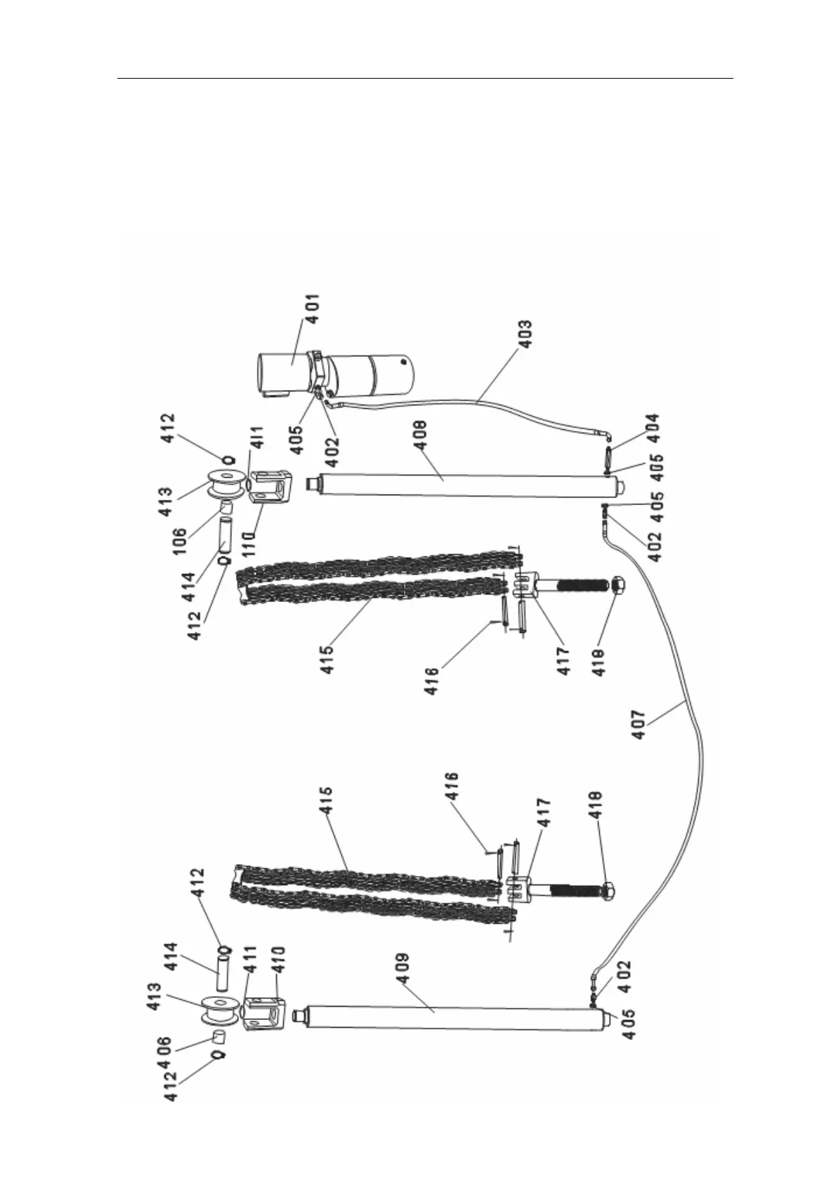
Launch TLT235TLT240 Economical Two-post User’s Manual
30
Applicable to TLT235SB/ TLT240SB

Related product manuals