EasyManua.ls Logo

Launch TLT235 - Install the Power Side Column

Launch TLT235
50 pages
Print Icon
To Next Page IconTo Next Page
To Next Page IconTo Next Page
To Previous Page IconTo Previous Page
To Previous Page IconTo Previous Page
Loading...
Launch TLT235TLT240 Economical Two-post User’s Manual
18
E
D
C
B
2#
A
1#
3107mm(122.32in)
131mm(5.16in)
228mm
(8.98in)
3563mm(140.28in)
Fig.10b
Note:
z All the dimensions are based on the external
border of the base plate.
z Ensure the overall error is controlled within 6mm.
In this way, the difficulties in the final assembly,
or early wear or non-alignment of the chain can
be eliminated. The marking and layout is very
important. If it is inaccurate, there will be
problems during the final assembly and
operation.
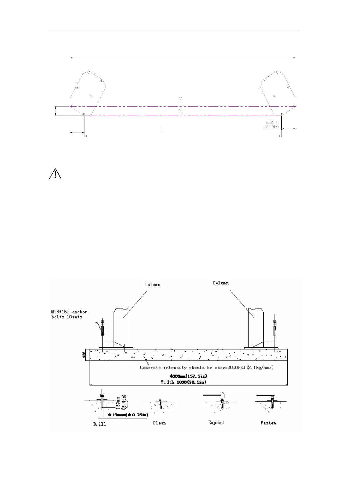
10.2.3 Install the power side column
For clear-floor two post lift ,first install extension
column with column, then use lifting equipment to
place power side column upper right to the location.
Align the base plate of column with the chalk line
layout. Guided by holes on the base plate of the
column, use 5 concrete anchor bolts to fix it onto the
ground. Drill and install anchor Bolt s at one time,
during the drilling process, ensure no movement of the
column.(Fig.11a) .
Fig.11a

Related product manuals