EasyManua.ls Logo

Laversab 6600 - Page 15

Default Icon
79 pages
Print Icon
To Next Page IconTo Next Page
To Next Page IconTo Next Page
To Previous Page IconTo Previous Page
To Previous Page IconTo Previous Page
Loading...
8
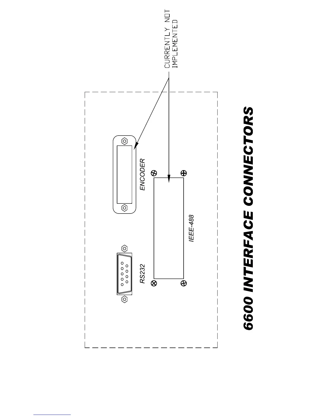
Figure 2.2

Related product manuals