EasyManua.ls Logo

LCN Benchmark III 9130 - Page 19

LCN Benchmark III 9130
19 pages
Print Icon
To Previous Page IconTo Previous Page
To Previous Page IconTo Previous Page
Loading...
Page 19 of 19
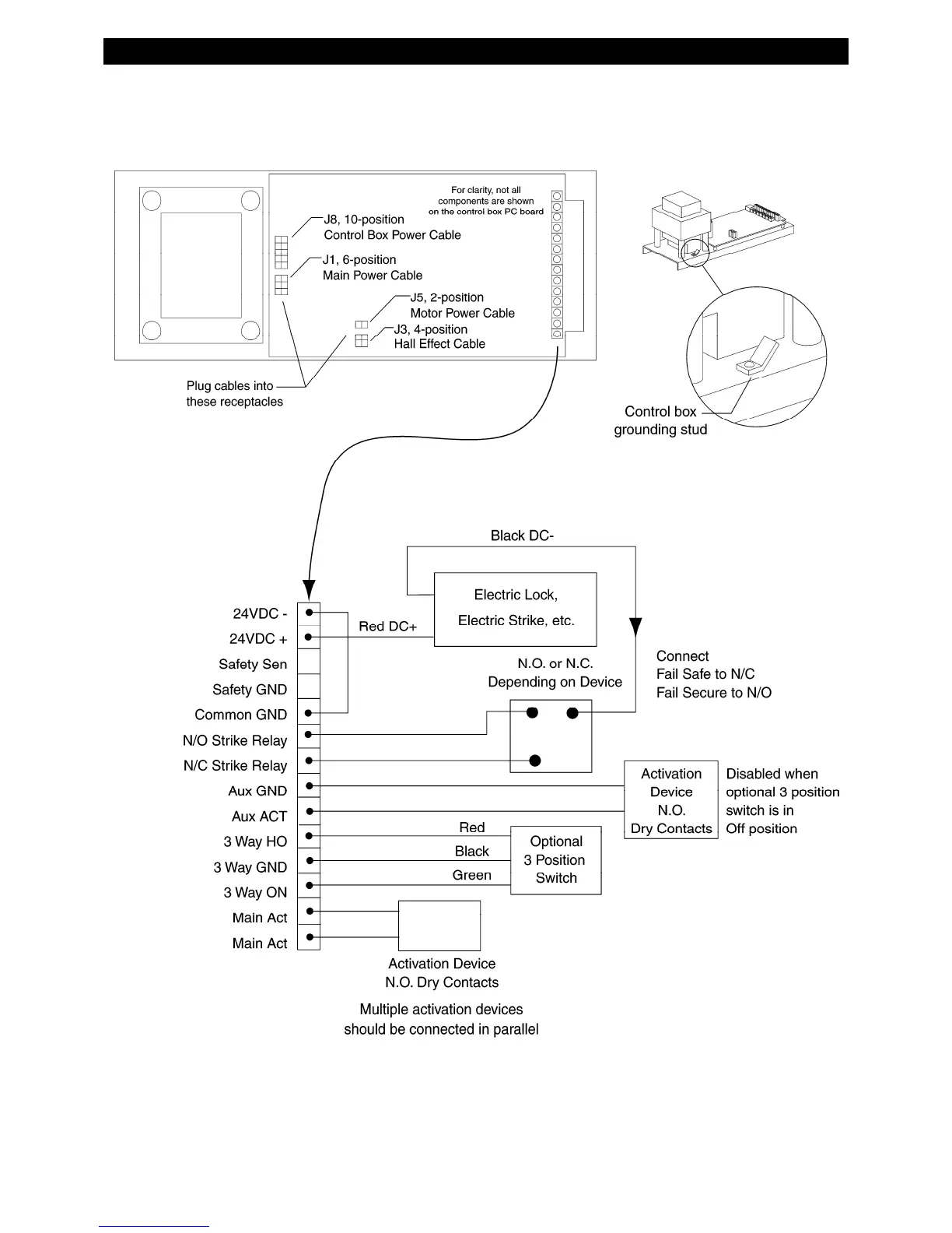
8.3 Wiring
8. BENCHMARK III SOFTWARE (CNTD)