EasyManua.ls Logo

Leibinger Jet 3 - Page 359

Leibinger Jet 3
378 pages
Print Icon
To Next Page IconTo Next Page
To Next Page IconTo Next Page
To Previous Page IconTo Previous Page
To Previous Page IconTo Previous Page
Loading...
Group 12 Appendix Page 357
Release R2.0 LEIBINGER JET3
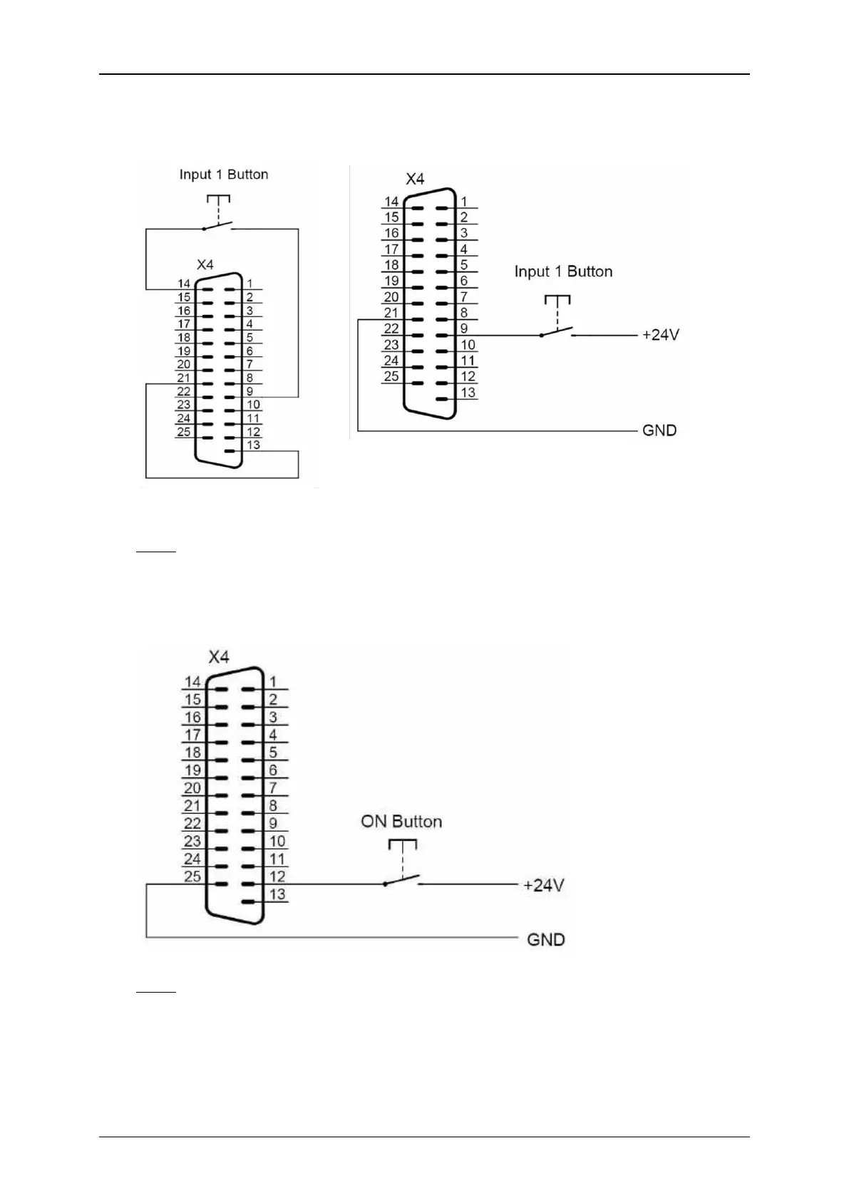
12.2.2.4 Inputs
(Example with pushbotton)
Note: Only input 1 is displayed, the same goes also for input 2 up to 6
12.2.4.5 ON Input
(Example with pushbotton)
Note: A switching option which works with the internal 24V supply (Pin 14) is not
possible because it is not available at the plug in the OFF-status of the printer.
with external supply
with internal supply

Related product manuals