EasyManua.ls Logo

Lennox FHM 85 - Page 49

Lennox FHM 85
110 pages
To Next Page IconTo Next Page
To Next Page IconTo Next Page
To Previous Page IconTo Previous Page
To Previous Page IconTo Previous Page
Loading...
IOM FLEXY II 1007 E Page 47
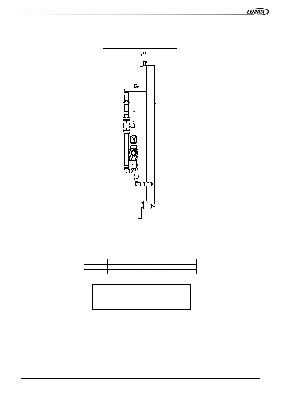
Connection HWC F-G-H box
Pipe Internal Diameters (DN)
MAXIMU M WORKING PRESSURE: 8 BARS
MAXIMU M WORKING TE MPERA TURE: 110°C
F085
F100
F120
F150 F170
F200
F230
S 25 25 25 32 32 32 32
H 32 32 32 40 40 40 40
HEATING
: HOT WATER COIL

Table of Contents

Other manuals for Lennox FHM 85

Related product manuals