EasyManua.ls Logo

Lennox G23Q3/4X-100 - Gas Piping Installation

Lennox G23Q3/4X-100
31 pages
To Next Page IconTo Next Page
To Next Page IconTo Next Page
To Previous Page IconTo Previous Page
To Previous Page IconTo Previous Page
Loading...
Page 16
Gas Piping
CAUTION
If a flexible gas connector is required or allowed by
the authority that has jurisdiction, black iron pipe
shall be installed at the gas valve and extend out
side the furnace cabinet.
1 - This unit is shipped standard for left or right side
installation of gas piping (or top entry in horizontal
applications). Connect the gas supply to the piping
assembly.
2 - A piping hole is also fabricated in the right side of the
unit for alternate piping arrangements.
3 - When connecting gas supply, factors such as length
of run, number of fittings and furnace rating must be
considered to avoid excessive pressure drop. Table
9 recommends pipe sizes for typical applications.
4 - The gas piping must not run in or through air ducts,
clothes chutes, gas vents or chimneys, dumb wait
ers, or elevator shafts.
5 - The piping should be sloped 1/4 inch (6.4 mm) per 15
feet (4.57 m) upward toward the meter from the fur
nace. The piping must be supported at proper inter
vals [every 8 to 10 feet (2.44 to 3.01 m) using suitable
hangers or straps. A drip leg should be installed in
vertical pipe runs to the unit.
6 - In some localities, codes may require installation of a
manual main shutoff valve and union (furnished by
installer) that are external to the unit. Union must be
of the ground joint type.
IMPORTANT
Compounds used on threaded joints of gas piping
must be resistant to the actions of liquified petro
leum gases.
NOTE - If an emergency shutoff is required, shut off the
main manual gas valve and disconnect the main power
from the unit. Properly label these devices.
NOTE - Install an 1/8 inch NPT plugged tap into the field
piping. Install the tap so that it is upstream of where the
unit connects to the gas supply. The tap must be accessi
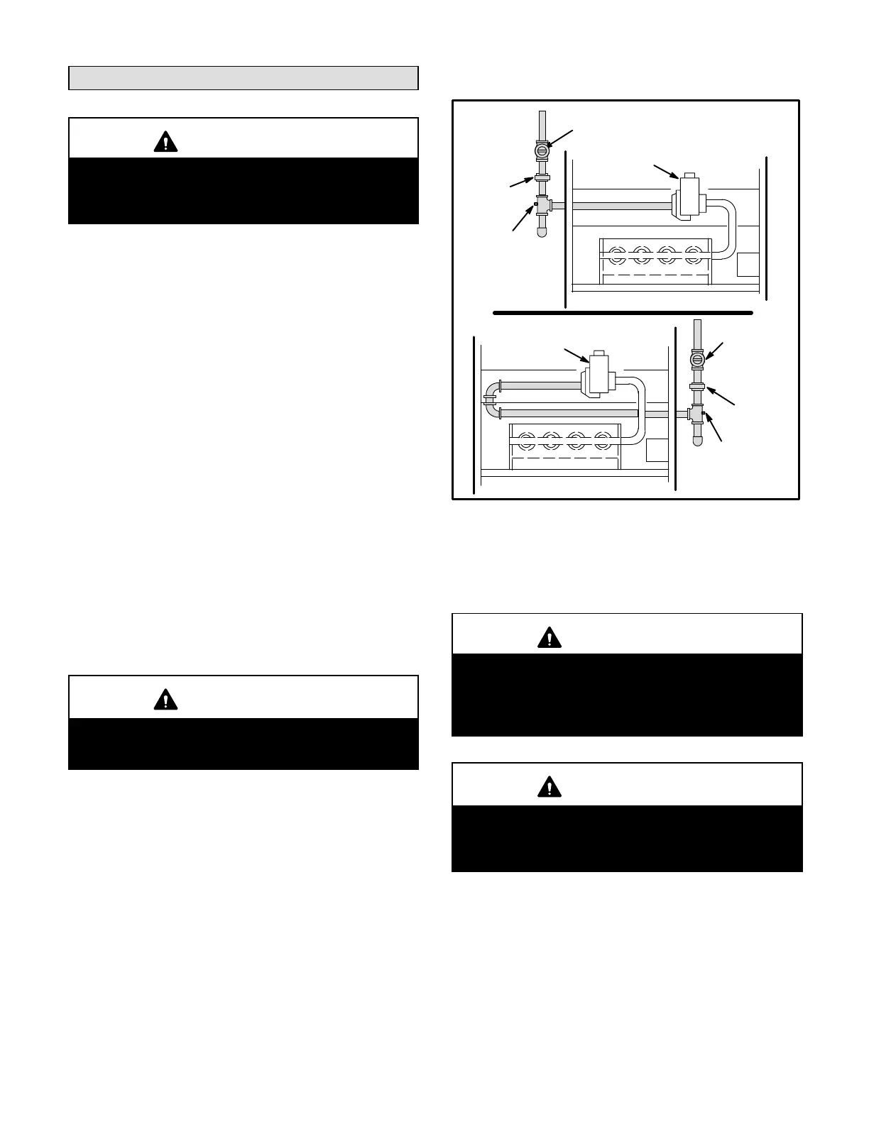
ble for test gauge connection. See figure 14.
FIGURE 14
GROUND
JOINT
UNION
LEFT SIDE PIPING
(STANDARD)
RIGHT SIDE PIP
ING
AUTOMATIC
GAS VALVE
MANUAL
MAIN SHUT-OFF
VALVE
1/8 in. NPT
PLUGGED TAP
GROUND
JOINT
UNION
MANUAL
MAIN SHUT-
OFF VALVE
1/8 in. NPT
PLUGGED TAP
AUTOMATIC
GAS VALVE
Leak Check
After gas piping is completed, carefully check all piping
connections (factory- and field-installed) for gas leaks.
Use a leak detecting solution or other preferred means.
CAUTION
Some soaps used for leak detection are corrosive
to certain metals. Carefully rinse piping thoroughly
after leak test has been completed. Do not use
matches, candles, flame or other sources of igni
tion to check for gas leaks.
IMPORTANT
When testing pressure of gas lines, gas valve must
be disconnected and isolated. See figure 15. Gas
valves can be damaged if subjected to more than
1/2 psig (3.48 kPa).

Related product manuals