EasyManua.ls Logo

Lennox GWB84-060E

Lennox GWB84-060E
40 pages
To Next Page IconTo Next Page
To Next Page IconTo Next Page
To Previous Page IconTo Previous Page
To Previous Page IconTo Previous Page
Loading...
33
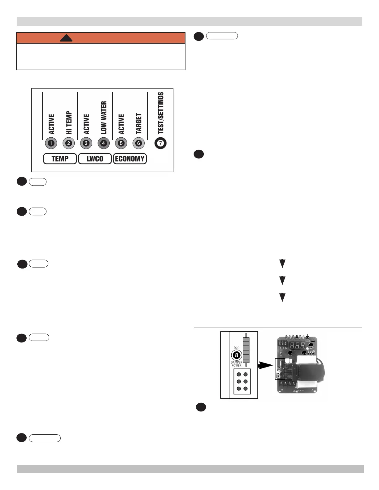
APPENDIX A - CONTROL FUNCTION
ACTIVE 

active.
HI TEMP 





LWCO ACTIVE



powered.
IMPORTANT:



LWCO LOW WATER







control.
IMPORTANT:

operation.
ACTIVE



WARNING



!
Control - LED legend
1
2
3
4
6
TARGET




and the burner will shut down. The boiler water will
continue to circulate and heat the house as long as the


set point at which point the boiler will be allowed to



NOTE:
boiler operation
TEST/SETTINGS Button


LCO. LWCO TEST LCO

NOTE:



To View Current Settings: Press and release the


HIGH LIMIT SETTING HL
LOW LIMIT SETTING LL
ECONOMY SETTING ECO
CURRENT TARGET TEMPERATURE 000


5
7
8
DAMPER POWER LED



 


PN 240012889 Rev. A [07/31/2020]

Related product manuals