EasyManua.ls Logo

Lennox LCH 048

Lennox LCH 048
140 pages
To Next Page IconTo Next Page
To Next Page IconTo Next Page
To Previous Page IconTo Previous Page
To Previous Page IconTo Previous Page
Loading...
Page 42
LGH/LCH036, 048, 060, 072
SCR Electric Heat Controller (LCH Units)
Optional factory-installed SCR (A38) will provide small
amounts of power to the electric heat elements to
efficiently maintain warm duct air temperatures when
there is no heating demand. The SCR maintains duct
air temperature based on input from a field-provided
and installed thermostat (A104) and duct sensor
(RT20). SCR is located in the compressor section on
the left wall. Use only with a thermostat or Novar
control system.
Use the instructions provided with the thermostat to set
DIP switches as follows: S1 On, S2 Off, S3 Off. Use the
instructions provided with the duct sensor to install sensor
away from electric element radiant heat and in a location
where discharge air is a mixed average temperature.
Once power is supplied to unit, zero SCR as follows:
1- Adjust thermostat (A104) to minimum position.
2- Use a small screwdriver to slowly turn the ZERO
potentiometer on the SCR until the LED turns solid red.
3- Very slowly adjust the potentiometer the opposite
direction until the LED turns off.
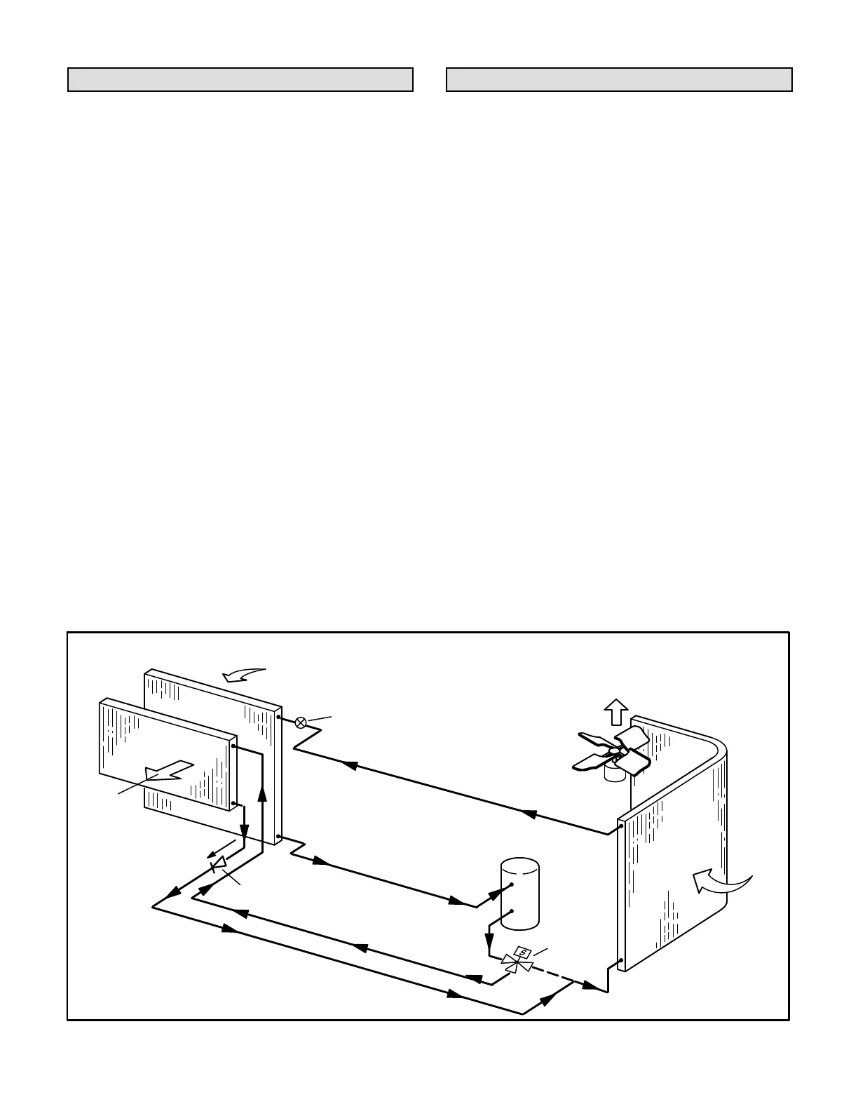
Hot Gas Reheat Start-Up And Operation
General
Hot gas reheat units provide a dehumidifying mode of
operation. These units contain a reheat coil adjacent to
and downstream of the evaporator coil. Reheat coil
solenoid valve, L14, routes hot discharge gas from the
compressor to the reheat coil. Return air pulled across
the evaporator coil is cooled and dehumidified; the
reheat coil adds heat to supply air. See figure 29 for
reheat refrigerant routing and figure 30 for standard
cooling refrigerant routing.
L14 Reheat Coil Solenoid Valve
When Unit Controller input (Unit Controller J298-5 or
J299-8) indicates room conditions require
dehumidification, L14 reheat valve is energized (Unit
Controller P269-3) and refrigerant is routed to the
reheat coil.
Reheat Setpoint
Reheat is factory-set to energize when indoor relative
humidity rises above 60% (default). The reheat setpoint
can be adjusted by changing Unit Controller Settings -
Control menu. A setting of 100% will operate reheat from
an energy management system digital output. The reheat
setpoint can also be adjusted using an optional Network
Control Panel (NCP).
Reheat will terminate when the indoor relative humidity
falls 3% (57% default) or the digital output de-energizes.
The reheat deadband can be adjusted at Settings -
Control menu.
REHEAT MODE REFRIGERANT ROUTING
REHEAT
COIL
EVAPORATOR
REHEAT
VALVE
RETURN
AIR
CONDENSER
COIL
OUTDOOR
AIR
COMPRESSOR
SUPPLY
AIR
CHECK
VALVE
EXPANSION
VALVE
FIGURE 29
COIL

Related product manuals