EasyManua.ls Logo

Lennox LGT092H4E - SYSTEMS SERVICE CHECKS; Heating System Service Checks

Lennox LGT092H4E
61 pages
Print Icon
To Next Page IconTo Next Page
To Next Page IconTo Next Page
To Previous Page IconTo Previous Page
To Previous Page IconTo Previous Page
Loading...
Page 36
V- SYSTEMS SERVICE CHECKS
A-Heating System Service Checks
-

      -
thorities having jurisdiction for local code requirements.
Refer to the LGT installation instruction for more informa-
tion.
1-Gas Piping
        
(124.3 Pa) drop in pressure between the gas meter and
the unit. Supply gas pipe must not be smaller than the
unit gas connection. Refer to installation instructions for
details.
2-Testing Gas Piping
NOTE-In case emergency shutdown is required, turn o
the main manual shut-o valve and disconnect the main
power to the unit. These controls should be properly la-
beled by the installer.
  
disconnected and isolated. Gas valves can be damaged
if subjected to more than 0.5 psig [14”W.C. (3481 Pa)].
.
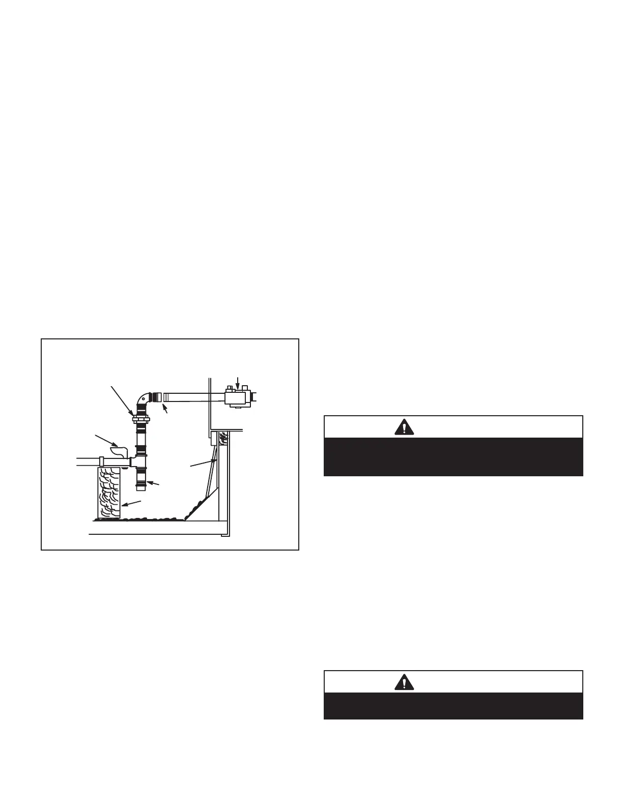
UNIT
GROUND
JOINT UNION
MANUAL MAIN
SHUT-OFF VALVE
(REFER TO LOCAL CODES)
GAS PIPING
SUPPORT
DRIP LEG
ROOF
MOUNTING
FRAME
GAS PIPING COMPONENTS
REFER TO INSTALLATION INSTRUCTIONS
VALVE
CAP HERE
TO ISOLATE
VALVE WHEN
PRESSURE
TESTING
LINE
FIGURE 25

preferred means. Common kitchen detergents can cause
harmful corrosion on various metals used in gas piping.
The use of specialty Gas Leak Detector is strongly rec-
ommended.
Do not use matches, candles, ame or any other
source of ignition to check for gas leaks.
3-Testing Gas Supply Pressure

the inlet pressure tap located on unit gas valve GV1 and
-
mum rate (both stages energized). Make sure the reading
falls within the range of the following values.




      
         
pressure at the unit gas connection must be between


      
with the one closest to the supply gas main and progress-
ing to the one furthest from the main. Multiple units should
also be tested with and without the other units operating.
Supply pressure must fall within the range listed in the
previous paragraph.
4-Check and Adjust Manifold Pressure

manifold pressure. Move test gauge to the outlet pressure

24 for location of pressure tap on the gas valve.
The manifold pressure is factory set and should not re-
quire adjustment. If manifold pressure is incorrect and no


gas valve (manifold pressure) adjustment screw.
All gas valves are factory regulated. The gas valve should
󰀨
󰀨
󰀨
CAUTION
    󰀨   
󰀨
pressure to the manometer.
Manifold Adjustment Procedure
1 - Connect test gauge to the outlet pressure tap on the
gas valve. Start the unit (call for second stage heat)

state.
2 -         

and should not lift from the burner heads. Natural
gas should burn basically blue with some clear
streaks. L.P. gas should burn mostly blue with some
clear yellow streaks.
3 - 
record the manifold pressure and compare to the

CAUTION
Disconnect heating demand as soon as an accurate
reading has been obtained.