EasyManua.ls Logo

Lennox LHT/LDT024 - Pressure Test Gas Piping

Lennox LHT/LDT024
45 pages
To Next Page IconTo Next Page
To Next Page IconTo Next Page
To Previous Page IconTo Previous Page
To Previous Page IconTo Previous Page
Loading...
Page 9
LHT/LDT024, 036, 048, 060
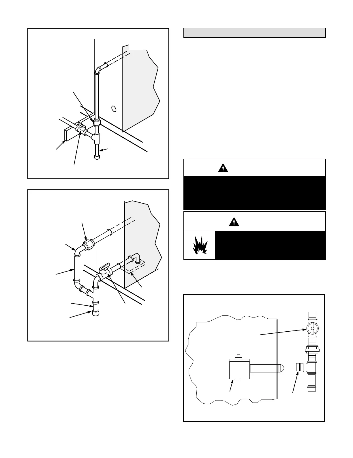
FIGURE 11
TO GAS
SUPPLY
MANUAL MAIN
SHUT-OFF VALVE
GAS PIPING
SUPPORT
GROUND
JOINT UNION
(REFER TO
LOCAL CODES)
DRIP LEG
OUTSIDE OF UNIT GAS PIPE CONNECTION
TO GAS
VALVE
DRIP LEG
MANUAL MAIN
SHUT-OFF VALVE
GROUND
JOINT UNION
FIGURE 12
BOTTOM ENTRY GAS PIPING COMPLETED
7” NIPPLE
STREET
ELBOW
TO GAS
SUPPLY
TO GAS
VALVE
Grommets for both gas pipe openings are field provided.
2-1/2” NIPPLE
Pressure Test Gas Piping (Gas Units)
When pressure testing gas lines, the gas valve must
be disconnected and isolated. Gas valves can be
damaged if subjected to more than 0.5 psig (3.48kPa).
See figure 13.
NOTE-Codes may require that manual main shut-off
valve and union (furnished by installer) be installed in gas
line external to unit. Union must be of the ground joint
type.
After all connections have been made, check all piping
connections for gas leaks. Also check existing unit gas
connections up to the gas valve; loosening may occur
during installation. Use a leak detection solution or other
preferred means. Do not use matches candles or other
sources of ignition to check for gas leaks.
CAUTION
Some soaps used for leak detection are corrosive
to certain metals. Carefully rinse piping thoroughly
after leak test has been completed. Do not use
matches, candles, flame or othe sources of ignition
to check for gas leaks.
WARNING
Danger of explosion. Can cause injury
or product or property damage. Do not
use matches, candles, flame or other
sources of ignition to check for leaks.
NOTE-In case emergency shut down is required, turn off
the main manual shut-off valve and disconnect main
power to unit. These devices should be properly labeled
by the installer.
GAS VALVE
CAP
MANUAL MAIN
SHUT-OFF VALVE
FIGURE 13
PRESSURE TEST GAS LINE

Related product manuals