EasyManua.ls Logo

Lennox REAL VPC H4-3P Series - Typical Communication Wiring; VRF System Communication with Multiple Header Kits

Lennox REAL VPC H4-3P Series
52 pages
To Next Page IconTo Next Page
To Next Page IconTo Next Page
To Previous Page IconTo Previous Page
To Previous Page IconTo Previous Page
Loading...
31
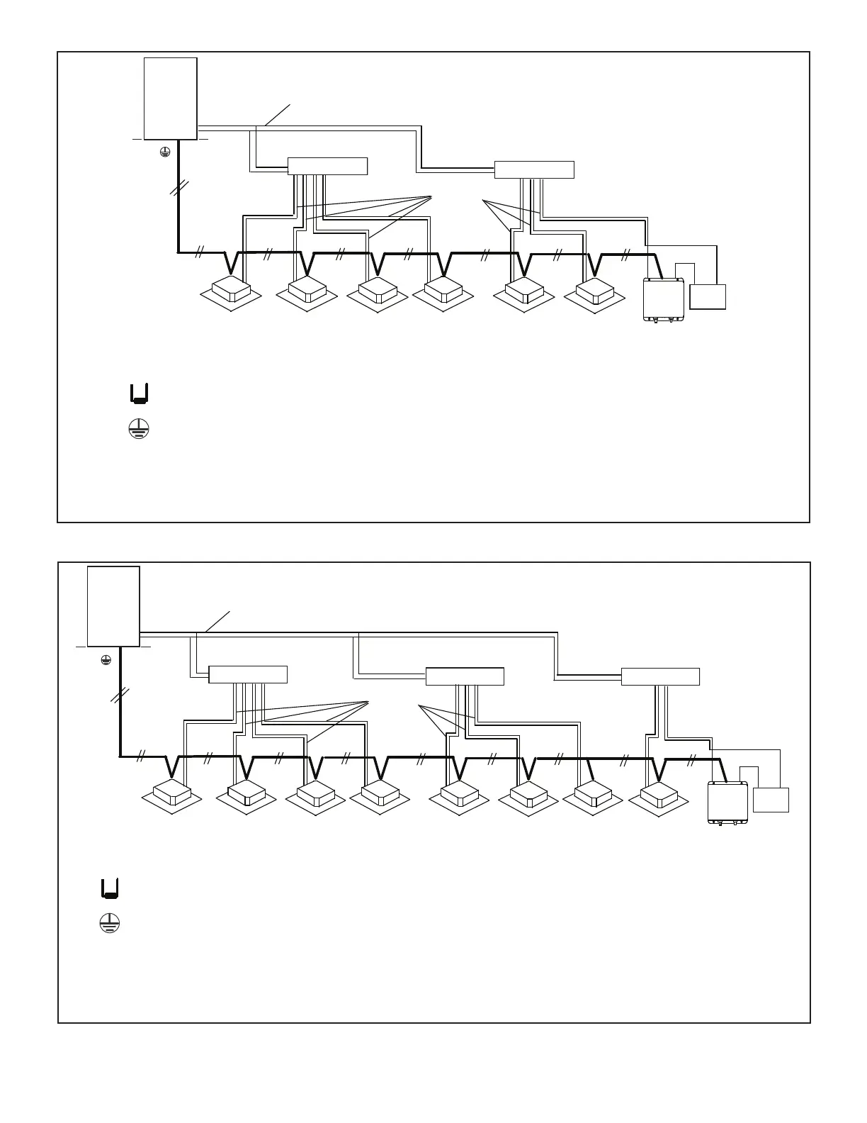
Figure 30. Typical Communication Wiring
Refrigerant Piping
(PQ)
Refrigerant Piping
P Q
All Drain Wires will connect from outdoor unit chassis to indoor unit chassis at the end of the signal
run.
18 GA., stranded, 2-conductor, shielded control wire (polarity sensitive).
Typical Wiring Diagram, NEC/CEC and Local Codes apply.
Install a terminating resistor (Ω120) on terminals P&Q on the indoor unit
which is furthest from the outdoor unit.
Coil
AHU
Control Kit
Indoor UnitIndoor UnitIndoor UnitIndoor UnitIndoor UnitIndoor Unit Indoor UnitIndoor Unit
Header Pipe Kit
V8HDRK04
Header Pipe Kit
V8HDRK04
Header Pipe Kit
V8HDRK04
Outdoor
Unit
Refrigerant Piping
(PQ)
Refrigerant Piping
Coil
AHU
Control Kit
Indoor UnitIndoor UnitIndoor Unit
Indoor UnitIndoor UnitIndoor Unit
P Q
All Drain Wires will connect from outdoor unit chassis to indoor unit chassis at the end of the signal
run.
18 GA., stranded, 2-conductor, shielded control wire (polarity sensitive).
Typical Wiring Diagram, NEC/CEC and Local Codes apply.
Install a terminating resistor (Ω120) on terminals P&Q on the indoor unit
which is furthest from the outdoor unit.
Header Pipe Kit
V8HDRK04
Header Pipe Kit
V8HDRK04
Outdoor
Unit
Figure 29. Typical Communication Wiring

Related product manuals