EasyManua.ls Logo

Lenord+Bauer SensorLine MiniCoder GEL 2442 - Bohr- und Fräsbild; Demontage des Gebers

Lenord+Bauer SensorLine MiniCoder GEL 2442
Print Icon
To Next Page IconTo Next Page
To Next Page IconTo Next Page
To Previous Page IconTo Previous Page
To Previous Page IconTo Previous Page
Loading...
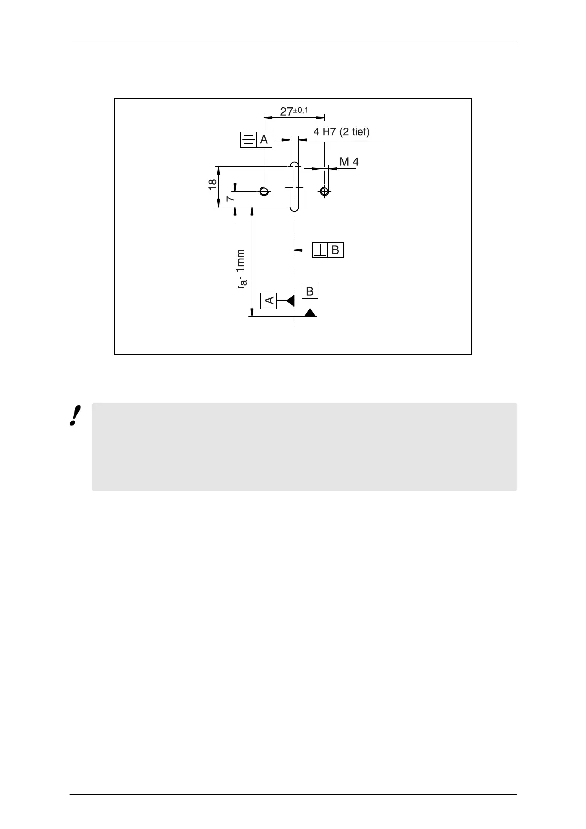
4 Handhabungshinweise Lenord + BauerBohr- und Fräsbild
12 GEL 2442
Deutsch
4.4 Bohr- und Fräsbild
ra = da/2 (da = Kopfkreisdurchmesser des Zahnrades)
4.5 Demontage des Gebers
MiniCoder mit eingeführter Abstandslehre ausbauen.
Ohne Abstandslehre zieht der im MiniCoder eingebaute Permanentmagnet das
Messsystem gegen das Zahnprofil, dies könnte das Messsystem beschädigen.
Mechanische Schläge auf die Messfläche des MiniCoders oder ein Verkratzen
der dünnen Schutzschicht können zum Totalausfall des Systems führen.
Abstandslehre zwischen MiniCoder und Messzahnrad einschieben
M4 Befestigungsschrauben lösen
MiniCoder ausbauen
Mechanischen Kontakt der Messfläche des MiniCoders mit dem Zahnprofil un-
bedingt vermeiden!