EasyManua.ls Logo

Lenovo ThinkServer RD430 - Page 47

Lenovo ThinkServer RD430
224 pages
Print Icon
To Next Page IconTo Next Page
To Next Page IconTo Next Page
To Previous Page IconTo Previous Page
To Previous Page IconTo Previous Page
Loading...
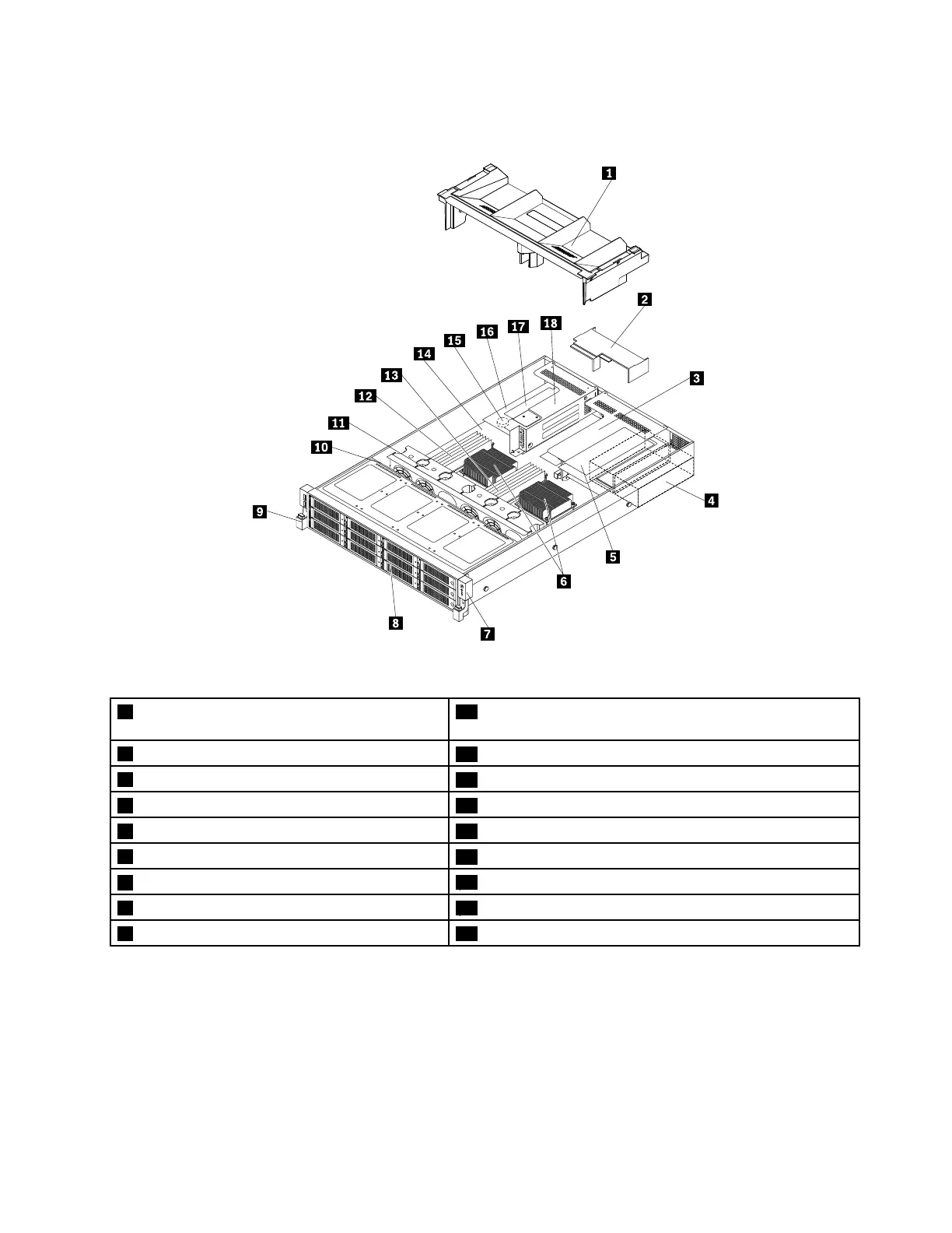
Componentsofservermodelswith123.5-inchharddiskdrivebays
Figure21.Componentsofservermodelswith123.5-inchharddiskdrivebays
1Coolingshroud
10Backplaneforservermodelswith123.5-inchharddisk
drivebays
2Powersupplycoolingshroud
11Systemfans(4)
3Risercardassembly2
12CPU1DIMMs(varybymodel)
4Oneortwohot-swapredundantpowersupplies13CPU2DIMMs(varybymodel)
5PCIExpresscards(availableinsomemodels)14Systemboard
6Heatsinkswithmicroprocessorsunderneath
15Systemboardbattery
7Rackhandle(right)withfrontcontrolsandLEDs
16Expandercard
83.5-inchharddiskdrivearea17RAIDcard
9Rackhandle(left)withfrontUSBconnectors
18Risercardassembly1
Chapter3.Productoverview33

Table of Contents

Other manuals for Lenovo ThinkServer RD430

Related product manuals