EasyManua.ls Logo

LG ARUM072DTE5 - Header Kits; Due to Our Policy of Continuous Product Innovation, some Specifications May Change Without Notification

LG ARUM072DTE5
184 pages
Print Icon
To Next Page IconTo Next Page
To Next Page IconTo Next Page
To Previous Page IconTo Previous Page
To Previous Page IconTo Previous Page
Loading...
72
MULTI V 5 Outdoor Unit Installation Manual
Due to our policy of continuous product innovation, some specications may change without notication.
©LG Electronics U.S.A., Inc., Englewood Cliffs, NJ. All rights reserved. “LG” is a registered trademark of LG Corp.
Header Kits
Install Correctly
Y-branches can be installed upstream between the Header and the outdoor unit, but a Y-branch cannot be installed between a header and
an indoor unit.
To avoid the potential of uneven refrigerant distribution through a header fitting, minimize the difference in equivalent pipe length between the
header fitting and each connected indoor unit.
INSTALLING FOR HEAT RECOVERY
OPERATION
No Substitutions on Piping Components
Only LG supplied Y-branch and Header ttings can be used to join one pipe segment to two or more segments.
Third-party
or eld-fabricated components such as tee’s, Y-ttings, couplings, headers, or other branch ttings are not permitted. The
only eld-provided ttings allowed in a Multi V piping system are 45° and 90° long radius elbows and full port ball valves (if
applicable).
Header Kits
LG Header kits are highly engineered devices designed to evenly
divide the flow of refrigerant, and are used to join one pipe segment
to two or more segments. Header kits are intended for use where
multiple indoor units are in the same vicinity and it would be better
to “home-run” the run-out pipes back to a centralized location. If
connecting multiple indoor units that are far apart, Y-branches may
be more economical.
LG Header Kits Consist of:
Two headers (one liquid line, one vapor line).
Reducer fittings as applicable.
Molded clam-shell type peel and stick insulation covers—one for
the liquid line and one for the vapor line.
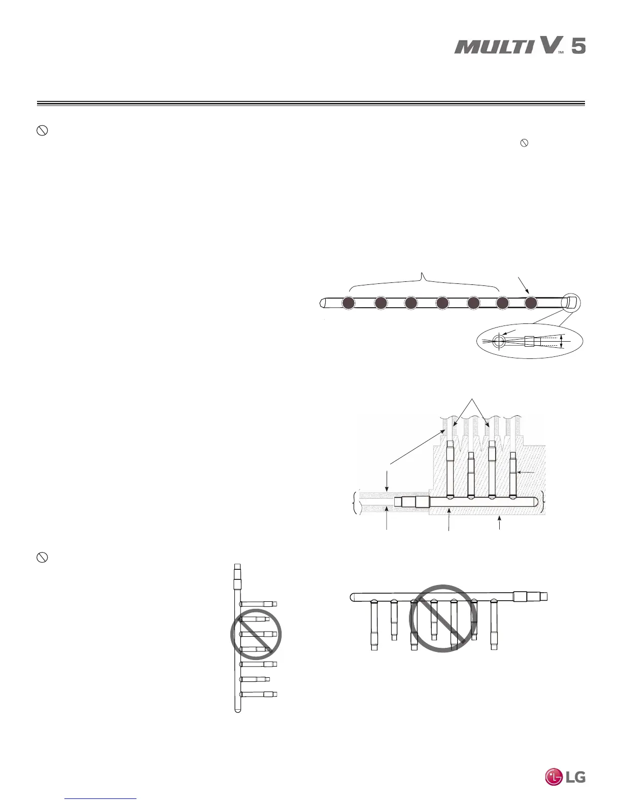
Headers must be installed with the main pipe level in the horizontal
plane. Distribution ports must be either level in the horizonal plane
or within ±3° of plumb in the vertical plane.
When connecting indoor units to a Header, always connect the unit
with the largest nominal capacity to the port closest to the outdoor
unit. Then install the next largest indoor unit to the next port, working
down to the smallest indoor unit.
Do not skip ports. All indoor
units connected to a single
Header fitting should be located
with an elevation difference
between indoor units that does
not exceed 49 feet.
ELEVATION VIEW
LG Supplied Insulation JacketLG Supplied Header
Field-Supplied Copper Piping
Field-Supplied Insulation
Field-Supplied Copper Piping
ELEVATION VIEW
Within ±3°
of plumb
Must be
Level
Must be
Level
Header Kit—Horizontal Rotation Limit (Ports Must Point to a Horizontal
Direction).
Vertical Header Insulation and Piping Detail (Ports Must Point to an
Upright Direction).
Largest Indoor Units
Smaller Indoor Units
ELEVATION VIEW
Header Inlet
Header End View
+0.0
-0.0
ELEVATION
VIEW
Incorrect Header Conguration.
Incorrect Header Conguration (Ports Pointing Downward).

Table of Contents

Related product manuals