EasyManua.ls Logo

LG LDPH7972S - Panneau de Commande

LG LDPH7972S
196 pages
Print Icon
To Next Page IconTo Next Page
To Next Page IconTo Next Page
To Previous Page IconTo Previous Page
To Previous Page IconTo Previous Page
Loading...
27FONCTIONNEMENT
FRANÇAIS
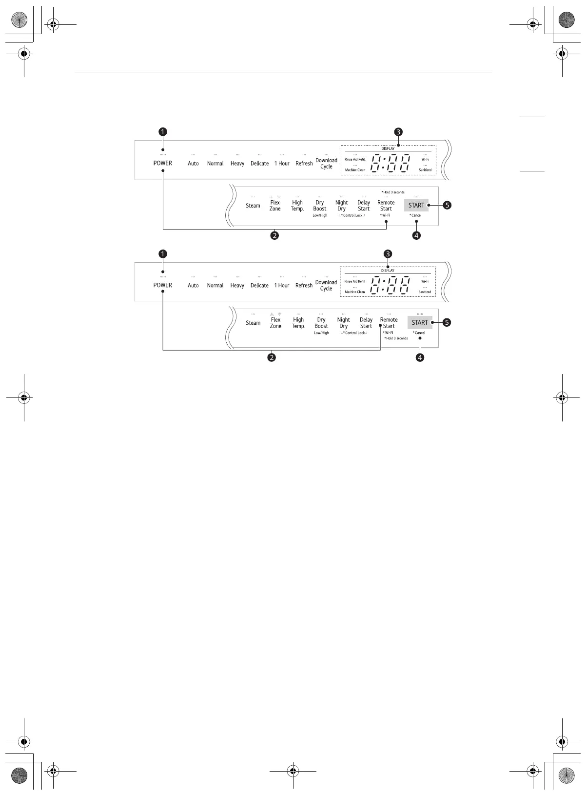
Panneau de commande
Caractéristiques du panneau de commande
a Bouton Mise sous tension
Appuyez sur ce bouton pour allumer ou éteindre la laveuse.
Une fois que le cycle est terminé, le lave-vaisselle se met automatiquement hors tension aux fins de
sécurité et dʼéconomie.
En cas de surtension, de panne de courant ou dʼinterruption de toute sorte, lʼalimentation est
automatiquement coupée pour des raisons de sécurité.
•Lorsque lʼalimentation est raccordée de nouveau, le lave-vaisselle se rallume automatiquement et le
cycle reprend.
b Mode de réglage des options
Vous pouvez ajuster plusieurs options à l’aide du mode de réglage des options.
Lorsque l’appareil est éteint, appuyez simultanément sur Mise sous tension et Remote Start
(Démarrage à distance) pour accéder au mode de réglage des options.
Reportez-vous à la section Utilisation du mode de réglage des options pour connaître toutes les
fonctions du mode de réglage des options.
c Affichage
Rinse Aid Refill (Regarnir produit de rinçage)
- Ce voyant à DEL sʼillumine lorsque le niveau dʼagent de rinçage est bas. Le voyant à DEL sʼéteint
automatiquement si le distributeur dʼagent de rinçage est rempli ou si le niveau est réglé à 0.
- Pour régler le niveau de l’agent de rinçage, reportez-vous à la section Utilisation du mode de
réglage des options.
Machine Clean (Nettoyage de lʼappareil)
- Le voyant à DEL Machine Clean (Nettoyage de lʼappareil) clignote tous les 30 cycles. Pour savoir
comment activer ou désactiver le voyant, reportez-vous à la section Utilisation du mode de
réglage des options.
fc_main.book.book Page 27 Wednesday, June 29, 2022 2:50 PM

Table of Contents

Related product manuals