EasyManua.ls Logo

LG LDPH7972S - Control Panel; Control Panel Features and Functions

LG LDPH7972S
196 pages
Print Icon
To Next Page IconTo Next Page
To Next Page IconTo Next Page
To Previous Page IconTo Previous Page
To Previous Page IconTo Previous Page
Loading...
25OPERATION
ENGLISH
Control Panel
Control Panel Features
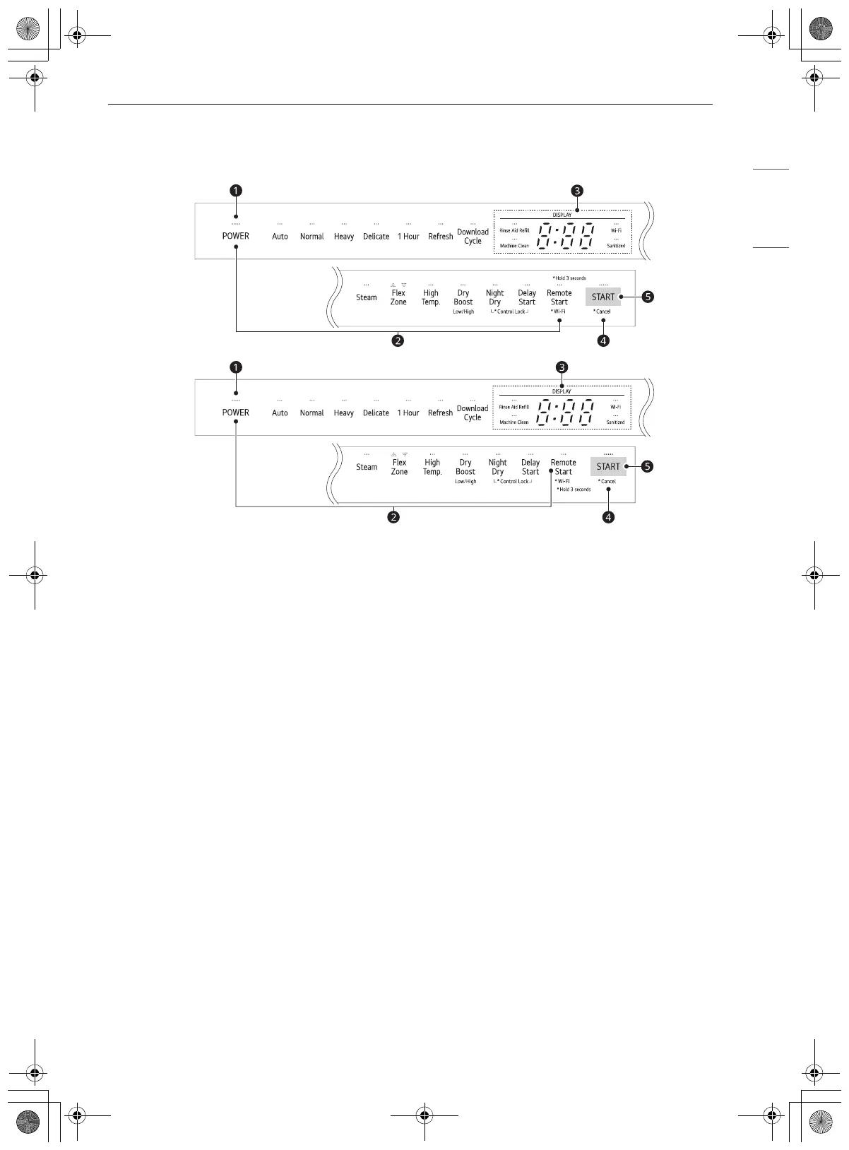
a Power On/Off Button
Press this button to turn the washer on or off.
After the cycle is complete, the power automatically turns off for purposes of safety and economy.
If there is a power surge, power outage, or disruption of any kind, power is automatically turned off
for safety.
When power is connected again, the dishwasher will turn on automatically and resume the cycle.
b Option Setting Mode
You can set various options by using the Option Setting Mode.
While a appliance is off, press Power and Remote Start simultaneously to enter the Option Setting
Mode.
Refer to the Using Option Setting Mode topic for each function of the Option Setting Mode.
c Display
Rinse Aid Refill
- This LED illuminates when the rinse aid level is low. The LED automatically shuts off when the rinse
aid is refilled or the level is set to 0.
- To adjust the rinse aid level, refer to the Using the Option Setting Mode topic.
Machine Clean
- The Machine Clean LED flashes every 30 cycles. To activate or deactivate the LED, refer to the
Using the Option Setting Mode topic.
8:88 : Digital Display
- The digital display on the control panel shows the ESTIMATED cycle time. When the cycle and
options are selected, the display shows the total estimated time to complete those selections.
During operation, the display shows the remaining estimated operating time.
us_main.book.book Page 25 Wednesday, June 29, 2022 8:57 AM

Table of Contents

Related product manuals