EasyManua.ls Logo

LG SHD3689BD - Page 13

LG SHD3689BD
35 pages
Print Icon
To Next Page IconTo Next Page
To Next Page IconTo Next Page
To Previous Page IconTo Previous Page
To Previous Page IconTo Previous Page
Loading...
-13-
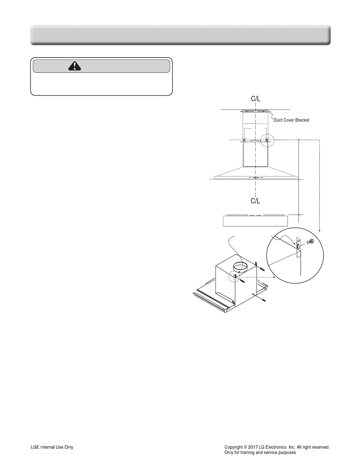
PLANNING THE INSTALLATION
1. Measure from range top to desired hood bottom
and mark line A. (26" minimum from range top).
2. Plum and mark center line.
3. Mark hood height line B.(18-7/16" from line A)
4. Mark mounting spread from C/L.(8-7/8" on line B)
5. Fasten(2) M4X 1-1/2" screws into studs on line B
but do not tighten all the way. Note: Wood
blocking may need to be added behind the
drywall if no studs are present. Wall anchors may
also be used but check local codes for
compliance. Failure to use suitable wall anchors
and screws to hold the weight of the hood could
result in personal injury or damage to cooking
surface or counter.
6. Remove the(2) aluminu mesh filters.
7. Hang hood onto the mounting screws and hand
tighten each screw. (Fig A1) Secure a third M4 X
11/2" screw through inside of hood into wall for
extra support. (Fig A2)
8. Center and attach duct cover mounting bracket to
wall just below the celling or soffit using (2) M3 X
1" screws.
9. Install electrical and duct work. Seal duct work
with aluminum doct tape.
10. Power up hood and check for leaks around duct
tape.
11. Place telescopic duct covers onto hood and
extend inner (top) duct cover upwards and
secure to duct cover bracket using (2) M4 X 8
screws. Reinstall mesh filters.
* If using hood in recirculating mode you must
secure the air diverter plate onto wall before
installing duct work and duct covers. You will
also need to install charcoal filters and brackets.
Turn to page 10 for more details.
18-
7/16
Brackets are
pre-installed
Fig. A1
Fig. A2
26” min
8-
7/8
A
B
CAUTION
At least two installers are required
due to the weight and size of the hood.

Related product manuals