EasyManua.ls Logo

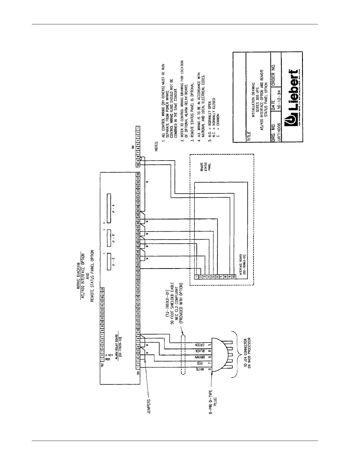
Liebert 311 - Figure 28 Optional IBM AS;400 Signal Interface (with Remote Status Panel)

Liebert 311
113 pages
Print Icon
To Next Page IconTo Next Page
To Next Page IconTo Next Page
To Previous Page IconTo Previous Page
To Previous Page IconTo Previous Page
Loading...
96 System Options
Figure 28 Optional IBM
®
AS/400 Signal Interface (with Remote Status Panel)

Table of Contents

Related product manuals