EasyManua.ls Logo

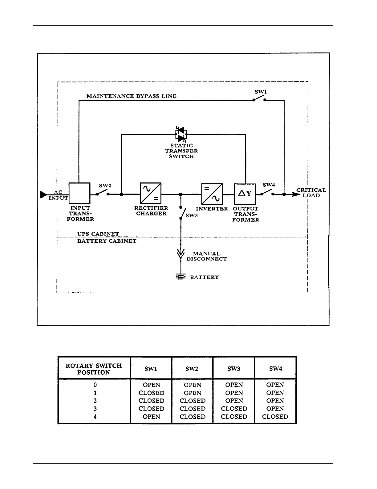
Liebert 311 - Figure 13 Block Diagram of the Series 300 UPS

Liebert 311
113 pages
Print Icon
To Next Page IconTo Next Page
To Next Page IconTo Next Page
To Previous Page IconTo Previous Page
To Previous Page IconTo Previous Page
Loading...
34 Operation
Figure 13 Block Diagram of the Series 300 UPS

Table of Contents

Related product manuals