EasyManua.ls Logo

Lightning Audio B4.250.2 - Contrôle Par Télécommande Damplification des Basses; Utilisation de Filtres Passifs

Lightning Audio B4.250.2
44 pages
Print Icon
To Next Page IconTo Next Page
To Next Page IconTo Next Page
To Previous Page IconTo Previous Page
To Previous Page IconTo Previous Page
Loading...
15
Installation
*REMARQUE : si vous utilisez des entrées haut niveau et que vous entendez un bruit de moteur,
connectez le fil noir à la masse du châssis. Si le bruit persiste, contactez votre
distributeur agréé ou le service à la clientèle Lightning Audio.
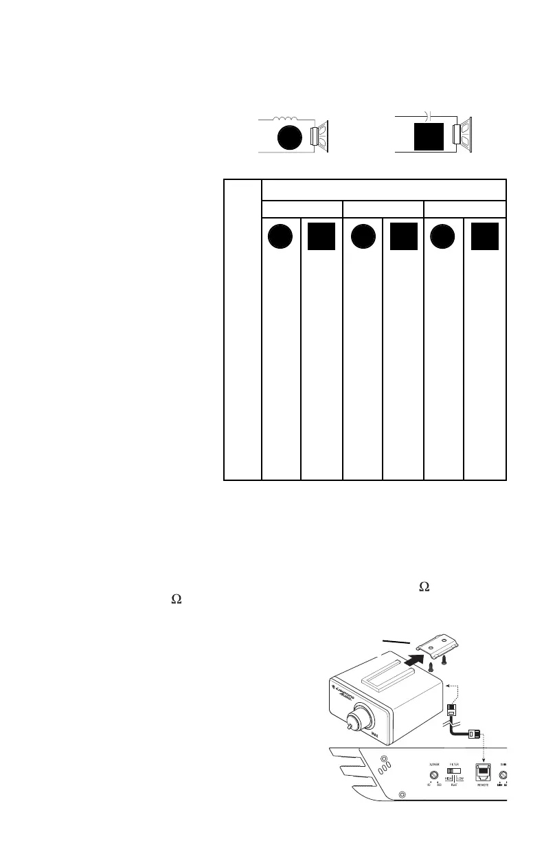
UTILISATION DE FILTRES
PASSIFS
Un filtre passif est un circuit utilisant des
condensateurs ou bobines qui est placé sur
les fils du haut-parleur, entre l’ampli et le
haut-parleur. Le filtre délègue une gamme
de fréquences spécifique au haut-parleur
afin d’assurer une performance optimale de
l’ampli. Un filtre passif peut accomplir une
des trois fonctions suivantes : passe-haut
(condensateurs), passe-bas (inducteurs ou
bobines) et passe-bande (combinaison de
condensateur et de bobine).
Les filtres passifs les plus fréquemment
utilisés sont les filtres de 6dB/octave. Ils
sont faciles à fabriquer et nécessitent un
composant par filtre. Placé en série avec le
circuit, ce type de filtre réduit la puissance
du haut-parleur de 6dB/octave au-dessus et
au-dessous du point de fréquence, selon
qu’il s’agit d’un filtre passe-haut ou passe-
bas. Des systèmes plus complexes
(12dB/octave ou 18dB/octave) peuvent
causer des problèmes d’impédance s’ils ne
sont pas conçus par des professionnels.
La précision des filtres passifs dépend
directement de l’impédance du haut-parleur
et de la valeur du composant. Si des
composants de filtre passif sont utilisés
dans des systèmes à plusieurs haut-
parleurs, il faut tenir compte de l’effet du
filtre passif sur l’impédance globale ainsi
que de l’impédance du haut-parleur pour
déterminer les charges de l’ampli.
MISE EN GARDE : les amplificateurs Lightning Audio ne sont pas recommandés
pour des charges d’impédance inférieures à 2 stéréo ou
4 pontées (mono).
80 4.1mH 1000µF 8.2mH 500µF 16mH 250µF
100 3.1mH 800µF 6.2mH 400µF 12mH 200µF
130 2.4mH 600µF 4.7mH 300µF 10mH 150µF
200 1.6mH 400µF 3.3mH 200µF 6.8mH 100µF
260 1.2mH 300µF 2.4mH 150µF 4.7mH 75µF
400 .8mH 200µF 1.6mH 100µF 3.3mH 50µF
600 .5mH 136µF 1.0mH 68µF 2.0mH 33µF
800 .41mH 100µF .82mH 50µF 1.6mH 26µF
1000 .31mH 78µF .62mH 39µF 1.2mH 20µF
1200 .25mH 66µF .51mH 33µF 1.0mH 16µF
1800 .16mH 44µF .33mH 22µF .68mH 10µF
4000 .08mH 20µF .16mH 10µF .33mH 5µF
6000 51mH 14µF .10mH 6.8µF .20mH 3.3µF
9000 34mH 9.5µF 68mH 4.7µF .15mH 2.2µF
12000 25mH 6.6µF 51mH 3.3µF 100mH 1.6µF
Freq.
Hertz
Impédance de haut-parleur
2 OHMS
8 OHMS
4 OHMS
L L
L
C C
C
Passe-bas 6dB/octave
Passe-haut 6dB/octave
L
C
L = passe-bas (inducteur)
C = passe-haut (condensateur)
Pour de plus amples informations, communiquez
avec votre distributeur agréé Lightning Audio.
CONTRÔLE PAR TÉLÉCOMMANDE DE
D'AMPLIFICATION DE BASSES (B4.250.2)
Montage et installation
1. Trouvez un bon emplacement, sous le tableau de bord
ou près de la console centrale, offrant un accès facile à
l’appareil de télécommande.
2. Servez-vous des vis fournies pour installer l’attache de
fixation, les languettes étant dirigées vers l’arrière.
3. Acheminez le câble de la télécommande et branchez-le
à la télécommande et au subwoofer amplifié.
4. Glissez la télécommande sur l’attache de fixation
jusqu’à ce qu’elle se mette en place d’un déclic.
Attache de
fixation

Table of Contents

Related product manuals