EasyManua.ls Logo

Luna MD30F - Page 16

Default Icon
Print Icon
To Next Page IconTo Next Page
To Next Page IconTo Next Page
To Previous Page IconTo Previous Page
To Previous Page IconTo Previous Page
Loading...
15
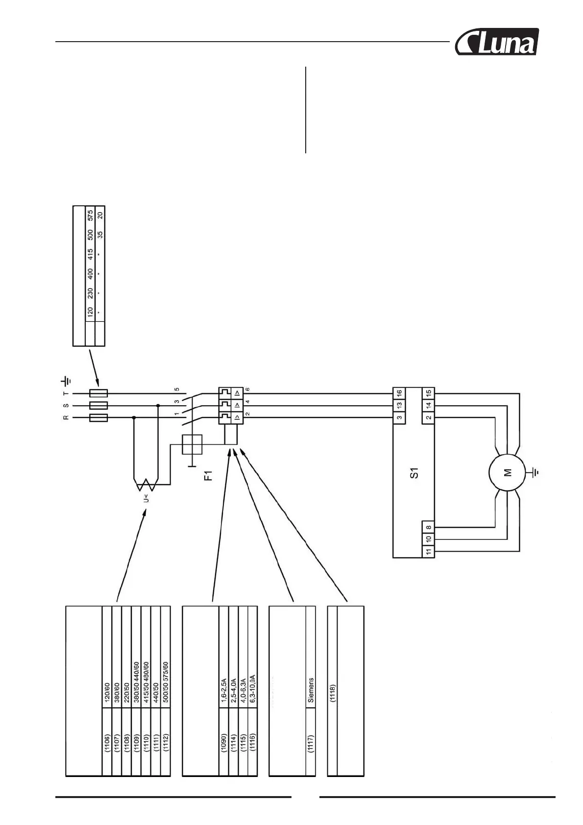
NULINĖS ĮTAMPOS IŠJUNGIKLIS
VARIKLIO ŠILUMINĖS
APSAUGOS IŠJUNGIKLIS
KORPUSAS
ELEKTRINIŲ SUJUNGIMŲ
DĖŽUTĖ, VISA SUDĖTIS
ĮJUNGIMAS /
IŠJUNGIMAS
* SAUGIKLIS
NENAUDOJAMAS
VARIKLIO APSAUGINIS
IŠJUNGIKLIS
(1096)
POLIŲ PERJUNGIKLIS
MAKSIMALUS SAUGIKLIO NOMINALAS
Įtampa
Srovė
VARIKLIS
RAUDONAS
PILKAS
GELTONAS
JUODAS
MĖLYNAS
BALTAS
Mėlynas
Rudas
Žalias
Geltonas
Raudonas
Juodas
Pilkas
Baltas
ELEKTRINIŲ SUJUNGIMŲ SCHEMA
VARIKLIS
Jeigu reikia išmontuoti statorių, tai atlikite toliau nurodytus veiks-
mus:
ATJUNKITE GRĘŽTUVĄ NUO ELEKTROS
TINKLO.
Išmontuokite pavaros bloką, movą ir padavimo pavaros ašį ank-
sčiau aprašytu būdu. Atjunkite variklį ir maitinimo kabelius nuo
polių perjungiklio. Pritvirtinkite movos korpusą kėlimo juostą.
Atsukite varžtą ir iškelkite movos korpusą. Po to iškelkite grąžto
galvutės lygio nustatymo mechanizmą. Išsukite du viršutinės
pakopos varžtus, esančius kairėje movos korpuso pusėje, ir
pasižymėkite statoriaus padėtį korpuse. Nestipriai pastuksendami
apatinę movos korpuso pusę į tinkamą paviršių, išslinkite statorių
žemyn iš korpuso. Po to naujas statorius įstatomas į korpusą iš
apačios tokioje pačioje padėtyje, kurioje buvo ankstesnis statorius.

Related product manuals