EasyManua.ls Logo

Luna MD30F - Spare Parts and Component Diagrams; Gearbox Spare Parts; Gearbox Exploded View

Default Icon
Print Icon
To Next Page IconTo Next Page
To Next Page IconTo Next Page
To Previous Page IconTo Previous Page
To Previous Page IconTo Previous Page
Loading...
28
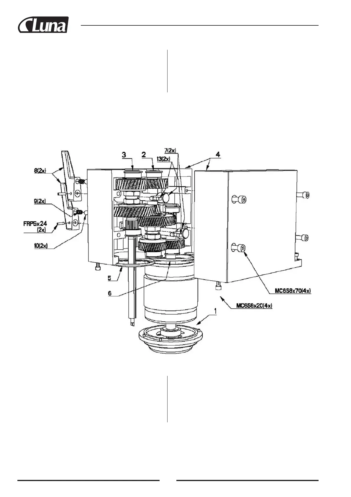
GEARBOX
Pos. Art.No Description
2. 1001 2:nd shaft complete
3. 1002 3:rd shaft complete
4. 1003 Gear box complete
5. 1004 Ring
6. 1005 Ring
Pos. Art.No Description
7. 1006 Gear selector arm
8. 1007 Gear lever
9. 1008 Gear
10. 1009 Steel ball
13. 1010 Shift pin
SPARE PARTS LIST
Gearbox .......................................................................................28
Shaft, Engine...............................................................................29
2:nd Shaft, Gear box ...................................................................30
3:rd Shaft, Gear box....................................................................31
Column........................................................................................32
Bench column..............................................................................33
Crank comp. ................................................................................34
Feed shaft ....................................................................................35
Spindle sleeve..............................................................................36
Electric Box.................................................................................37
Dimension Sketch Column Model..............................................38
Dimension Sketch Bench Model.................................................39

Related product manuals