EasyManua.ls Logo

MAC3 HydroController HCW MT 1P - Page 27

MAC3 HydroController HCW MT 1P
Print Icon
To Next Page IconTo Next Page
To Next Page IconTo Next Page
To Previous Page IconTo Previous Page
To Previous Page IconTo Previous Page
Loading...
Manuale Utente HC - Copyright © 2008 MAC3. All right reserved.
Man 01
Disegno 6328
27
Via Baldanzese, 149 50041 Calenzano FI
Tel. 055 8877672 – Fax 8877068
www.mac3.it - e-mail: mac3@mac3.it
o
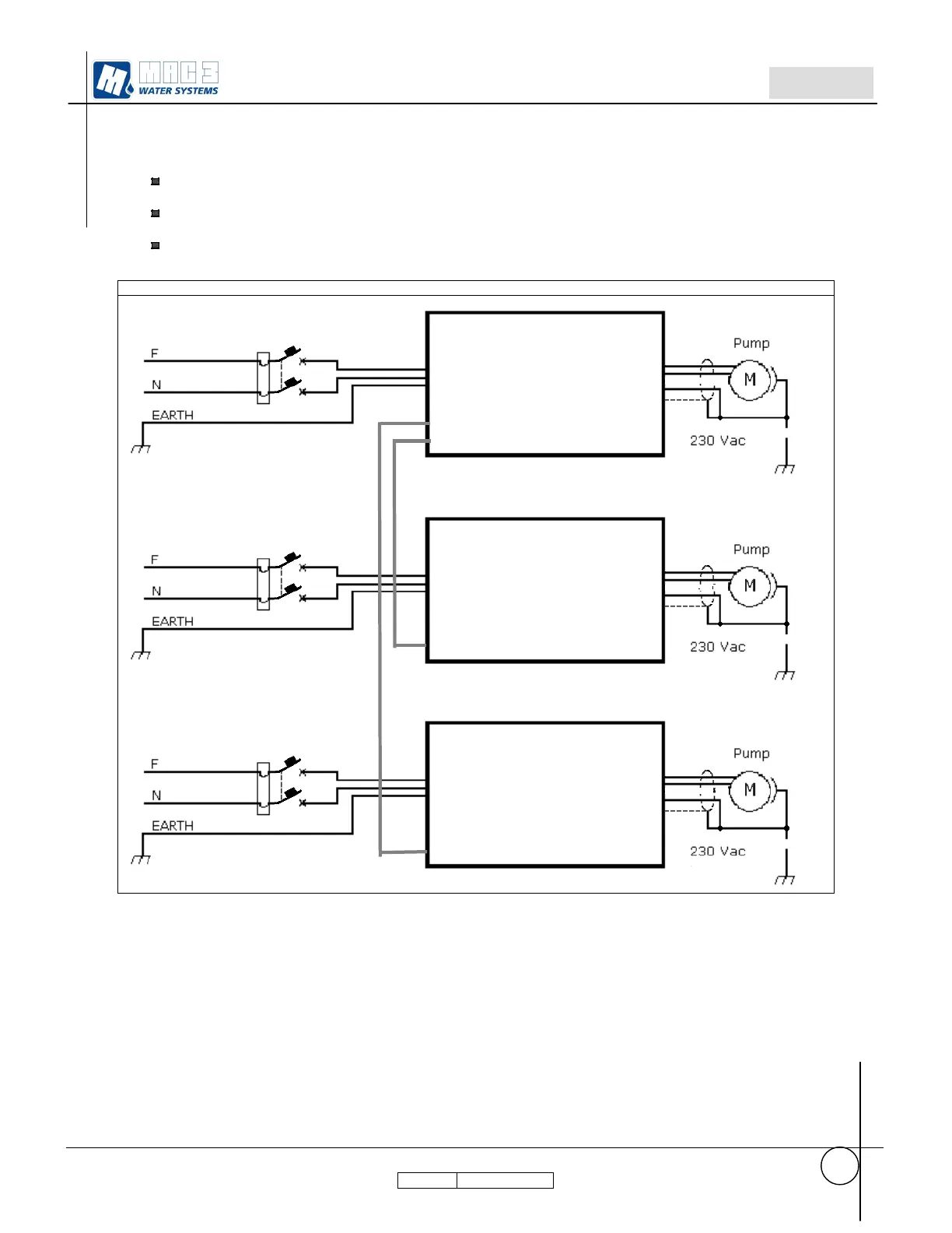
Impianto elettrico con 3 pompe Monofase
viene fornito con i cavi per le connessioni e con il cavo seriale RS 485 per interconnessione
Master/Slave.
connettere il cavo di uscita (terra, linea monofase, schermo) all’elettropompa del tipo monofase
standard da 230Vac, max 1 HP.
connettere il cavo di ingresso a tre fili (fase, neutro, terra) alla rete monofase a 230Vac tramite
un interruttore termico dimensionato in funzione dei dati di targa dell’elettropompa.
Schema elettrico per il modello a tre pompe monofase
Cavo seriale
RS 485
Hydrocontroller
MASTER
Hydrocontroller
SLAVE 1
Hydrocontroller
SLAVE 2

Related product manuals