EasyManua.ls Logo

MacDon 9350 - Page 84

MacDon 9350
160 pages
Print Icon
To Next Page IconTo Next Page
To Next Page IconTo Next Page
To Previous Page IconTo Previous Page
To Previous Page IconTo Previous Page
Loading...
Form # 46584 Issue 11/06 Web Rev_01
82
ATTACHING BOOSTER BATTERY
MAINTENANCE/SERVICE
Electrical System
BATTERY (continued)
CHARGING BATTERY
CAUTION:
· Ventilate the area where batteries are being
charged.
· Do not charge a frozen battery. Warm to
60°F (16°C) before charging.
· Do not connect or disconnect live circuits.
To prevent sparks, turn off charger and
connect positive cable first. If charging
battery in windrower, disconnect positive
battery cable before connecting charger
cable, then connect ground cable last, away
from battery.
· Stop or cut back charging rate if battery
feels hot, or is venting electrolyte. Battery
temperature must not exceed 125°F (52°C).
· Follow all instructions and precautions
furnished by the battery charger
manufacturer. Charge at recommended
rates and times.
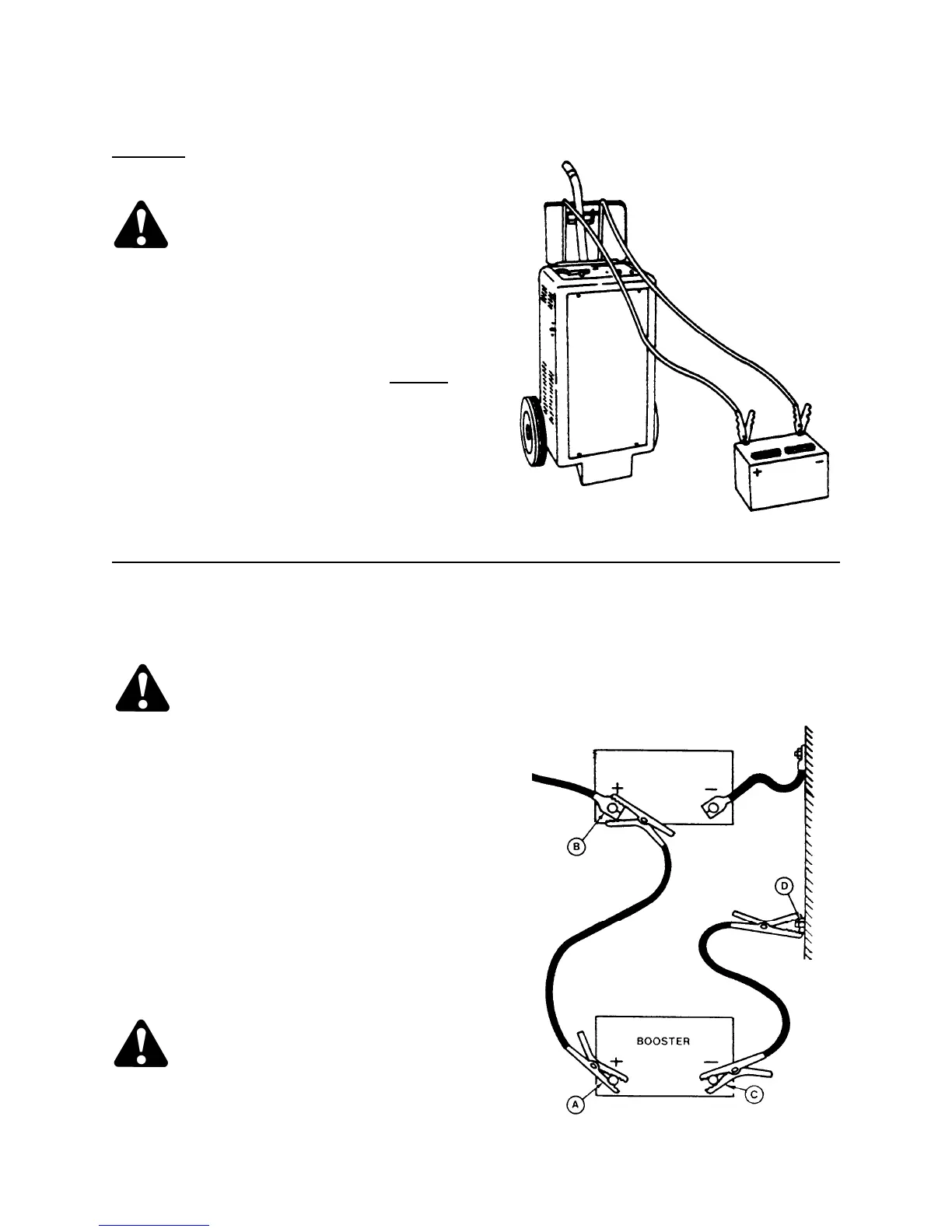
USING A BOOSTER BATTERY
A twelve volt battery can be connected in parallel (+ to +) with the windrower battery. Use heavy duty battery
cables.
CAUTION: Gas given off by batteries is explosive. Keep sparks and flames away from
batteries. Make last connection and first disconnection at a point furthest away from the
batteries. Wear protective eye-wear when using a booster battery. Be sure everyone is clear
of machine when starting engine. Start engine from operator's station only.
1. Attach one cable to positive terminal (A) of
booster battery.
2. Open engine compartment hood and attach
other end of cable to positive terminal (B) of
windrower battery.
3. Attach second cable to negative terminal (C) of
booster battery and then to a good ground (D)
on windrower frame.
4. Turn ignition switch in cab as with normal start
up.
5. When disconnecting cables, remove cable from
ground (D) first.
CAUTION: Avoid contact with
moving parts when disconnecting
cable at windrower battery terminal
(B). Never wear loose fitting or
dangling clothing or jewellery.
CHARGE BATTERIES SAFELY

Table of Contents

Related product manuals