EasyManua.ls Logo

MALTEC MasterCut5700W - Symbole Na Maszynie

MALTEC MasterCut5700W
Print Icon
To Next Page IconTo Next Page
To Next Page IconTo Next Page
To Previous Page IconTo Previous Page
To Previous Page IconTo Previous Page
Loading...
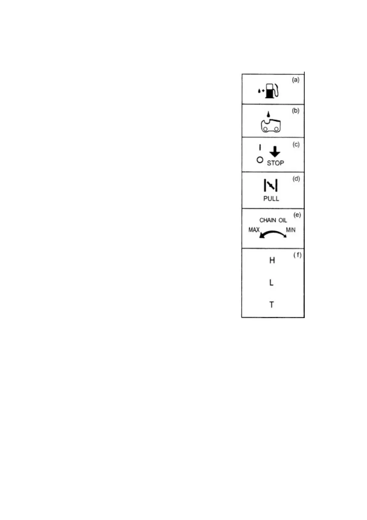
SYMBOLE NA MASZYNIE
Aby zapewnić bezpieczną obsługę i konserwację, symbole wyryte na maszynie.
Zgodnie z tymi wskazówkami należy uważać, aby się nie pomylić.
(a). Port do tankowania "MIX BENZYNA"
Pozycja: korek wlewu paliwa
(b). Port do tankowania „ŁAŃCUCHA OLEJU”
Pozycja: korek oleju
(c). Wskazanie dotyczące przełącznika. Odwracanie silnika
przełączyć na kierunek „O” (STOP), silnik zatrzymuje
się.
Pozycja: tył-lewo urządzenia
(d). Wskazanie dotyczące ssania,
Wyciągając gałkę ssania, ssanie zamyka się.
Pozycja : tył po prawej stronie urządzenia
(e). Wskazanie dotyczące nakrętki regulatora oleju łańcucha.
Kierunek „MIN” – spadek przepływu oleju
Kierunek „MAX” – wzrost przepływu oleju
Pozycja: dół strony sprzęgła
(f). Pozycja Igły H
Pozycja Igły L
Pozycja śruby regulacyjnej biegu jałowego
Pozycja: tył po lewej stronie urządzenia
4/59