EasyManua.ls Logo

Marantz 2110 - Page 22

Marantz 2110
32 pages
Print Icon
To Next Page IconTo Next Page
To Next Page IconTo Next Page
To Previous Page IconTo Previous Page
To Previous Page IconTo Previous Page
Loading...
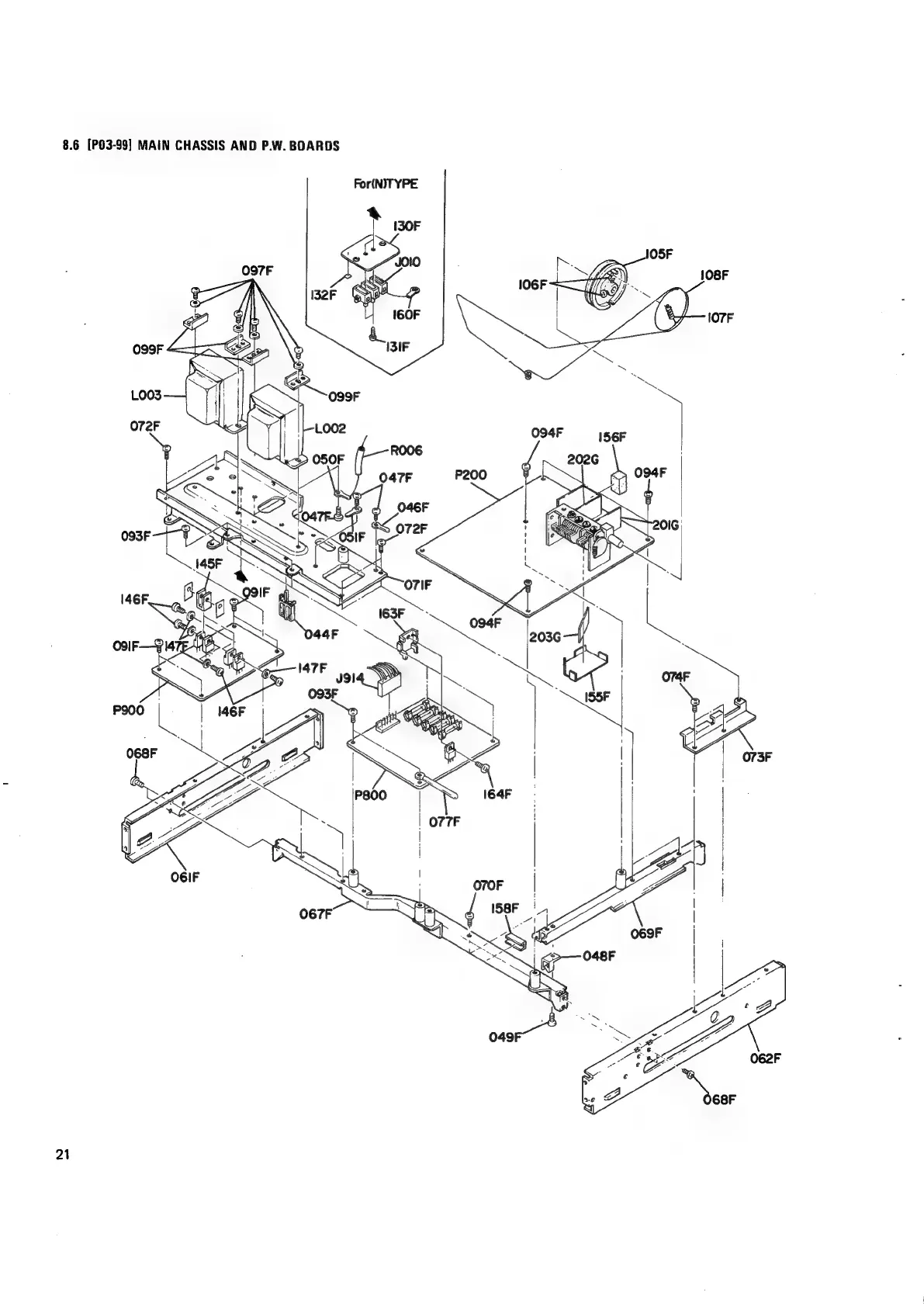
8.6
[P03-99]
MAIN
CHASSIS
AND
P.W.
BOARDS
21
For(NITYPE

Related product manuals