EasyManua.ls Logo

Marantz 2110 - Page 24

Marantz 2110
32 pages
Print Icon
To Next Page IconTo Next Page
To Next Page IconTo Next Page
To Previous Page IconTo Previous Page
To Previous Page IconTo Previous Page
Loading...
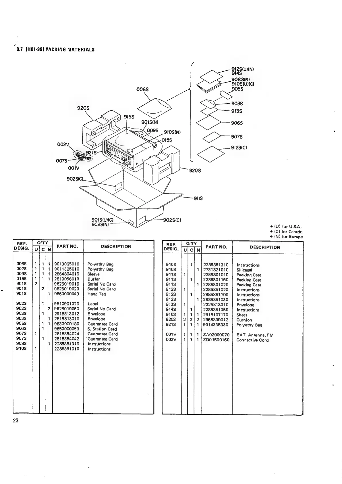
8.7
[H01-99]
PACKING
MATERIALS
23
9013025010
9011325010
2864804010
2819056010
9526019010
9526019020
9560000043
9510901020
9526019060
2918813012
2818813010
9630000180
9650000053
2818854024
2818854042
2285851310
2285851010
9OIS(UNC)
902S(N)
Polyethy
Bag
Polyethy
Bag
Sleeve
Buffer
Serial
No
Card
Serial
No
Card
Hang
Tag
Label
Serial
No
Card
Envelope
Envelope
Guarantee
Card
S.
Station
Card
Guarantee
Card
“Guarantee
Card
Instructions
Instructions
006S
912S(U)(N)
914S
908S(N)
910S(UNC)
905S
NS
903S
913S
es
Q
906S
907S
912S(C)
@
(U)
for
U.S.A.
©
(C)
for
Canada
©
(N)
for
Europe
2285851310
2731821010
Instructions
Silicagel
2285801010
Packing
Case
2285801150
Packing
Case
2285801020
Packing
Case
2285851020
Instructions
2885851100
Instructions
2885851030
Instructions
2225813010
Envelope
228585
1050
Instructions
2918107170
Sheet
2965809012
Cushion
9014335330
Polyethy
Bag
2A02000070
2D01500160
EXT.
Antenna,
FM
Connective
Cord

Related product manuals