EasyManua.ls Logo

Marantz CD85 - Page 45

Marantz CD85
56 pages
Print Icon
To Next Page IconTo Next Page
To Next Page IconTo Next Page
To Previous Page IconTo Previous Page
To Previous Page IconTo Previous Page
Loading...
'
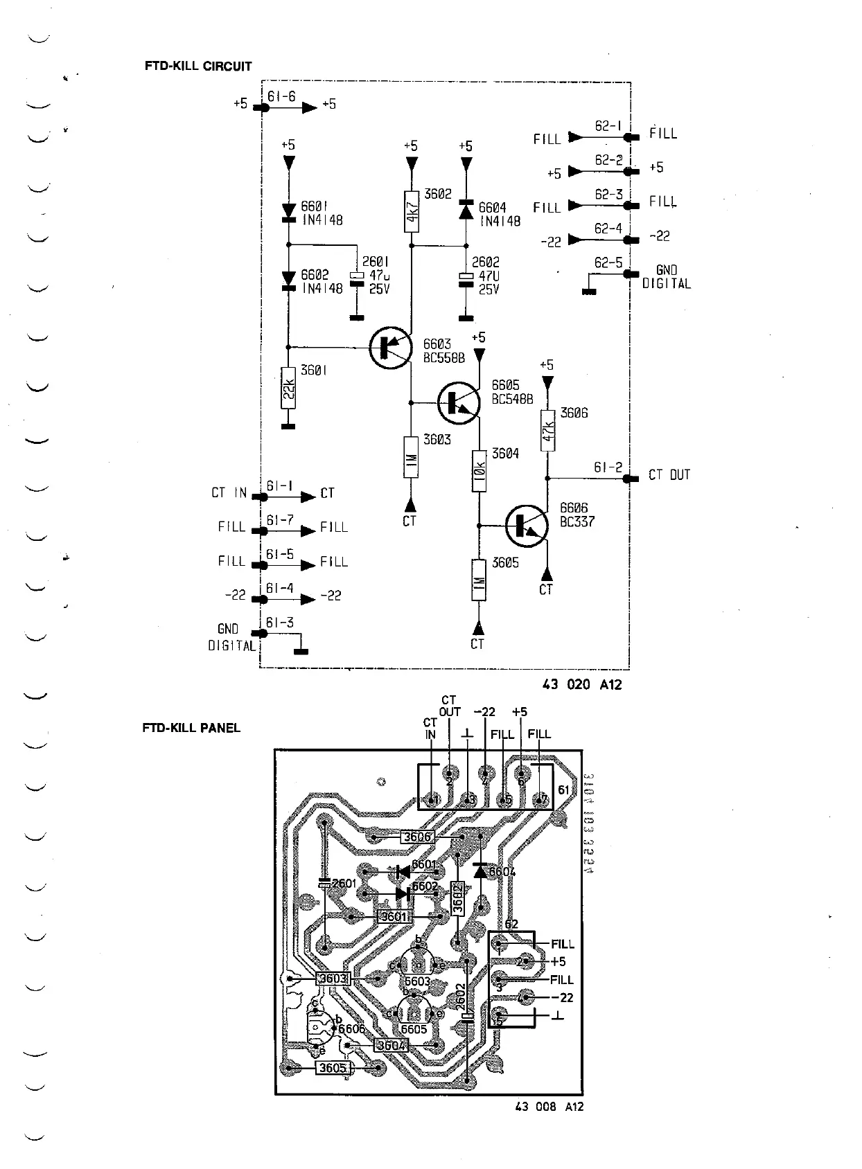
FTD-KILL
CIRCUIT
,·-·-·-·-·----------
!
61-6
+5
.----.
+5
+5
.
-"'
cv
cv
6601
IN4148
2601
6602
47u
IN4148
I
25V
3601
CT
IN
6
l-l
CT
i
FILI
.j.
6
I-?
FILL
i
FILI
.j.
61
"
5
FILL
i
22
i
61-4
-22
- ..
i
GND
.j.61-3
OIGITAL!
l
!
FTD-KILL
PANEL
+5 +5
3602
';,
6604
._,..
1
N4
l
48
CT
2602
47U
I
25V
6603
BC558B
3603
CT
+5
-"'
CS>
CT
6605
BC5488
3604
3605
OUT
-22
+5
CT
IN
FILL
+5
62-11
FILL
i
62-2.j.
+5
1
62-3 i
FILL.
FILL
~
►--
◄--•
!
62-4
!
22
-22
-
+5
CT
3606
6606
BC337
62-5
j
61-2
43
020
A12
GND
DIGITAL
CT
OUT
43 008
A12

Related product manuals