EasyManua.ls Logo

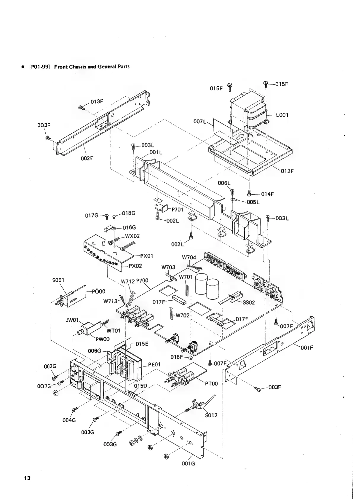
Marantz PM350 - Front Chassis and General Parts Exploded View

Marantz PM350
21 pages
Print Icon
To Next Page IconTo Next Page
To Next Page IconTo Next Page
To Previous Page IconTo Previous Page
To Previous Page IconTo Previous Page
Loading...
e@
[P01-99]
Front
Chassis
and
General
Parts
003F
O17G—~g
g—
0186
aor
6G
wxo2
<i
eg
PXO01
fea
pxo2
$001
“W712
P700
Te
POOO
SD.
W713

Related product manuals