EasyManua.ls Logo

Marantz PMD580 - Page 52

Marantz PMD580
68 pages
Print Icon
To Next Page IconTo Next Page
To Next Page IconTo Next Page
To Previous Page IconTo Previous Page
To Previous Page IconTo Previous Page
Loading...
74
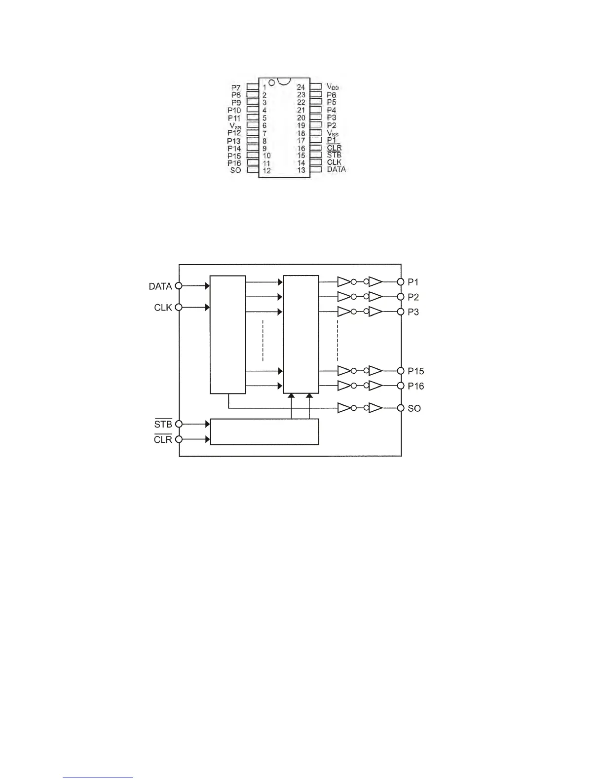
NJU3716A
BLOCK DIAGRAM
SHIFT
REGISTER
LATCH
CIRCUIT
CONTROL CIRCUIT

Related product manuals