EasyManua.ls Logo

Marantz ST4000 - Page 15

Marantz ST4000
16 pages
Print Icon
To Next Page IconTo Next Page
To Next Page IconTo Next Page
To Previous Page IconTo Previous Page
To Previous Page IconTo Previous Page
Loading...
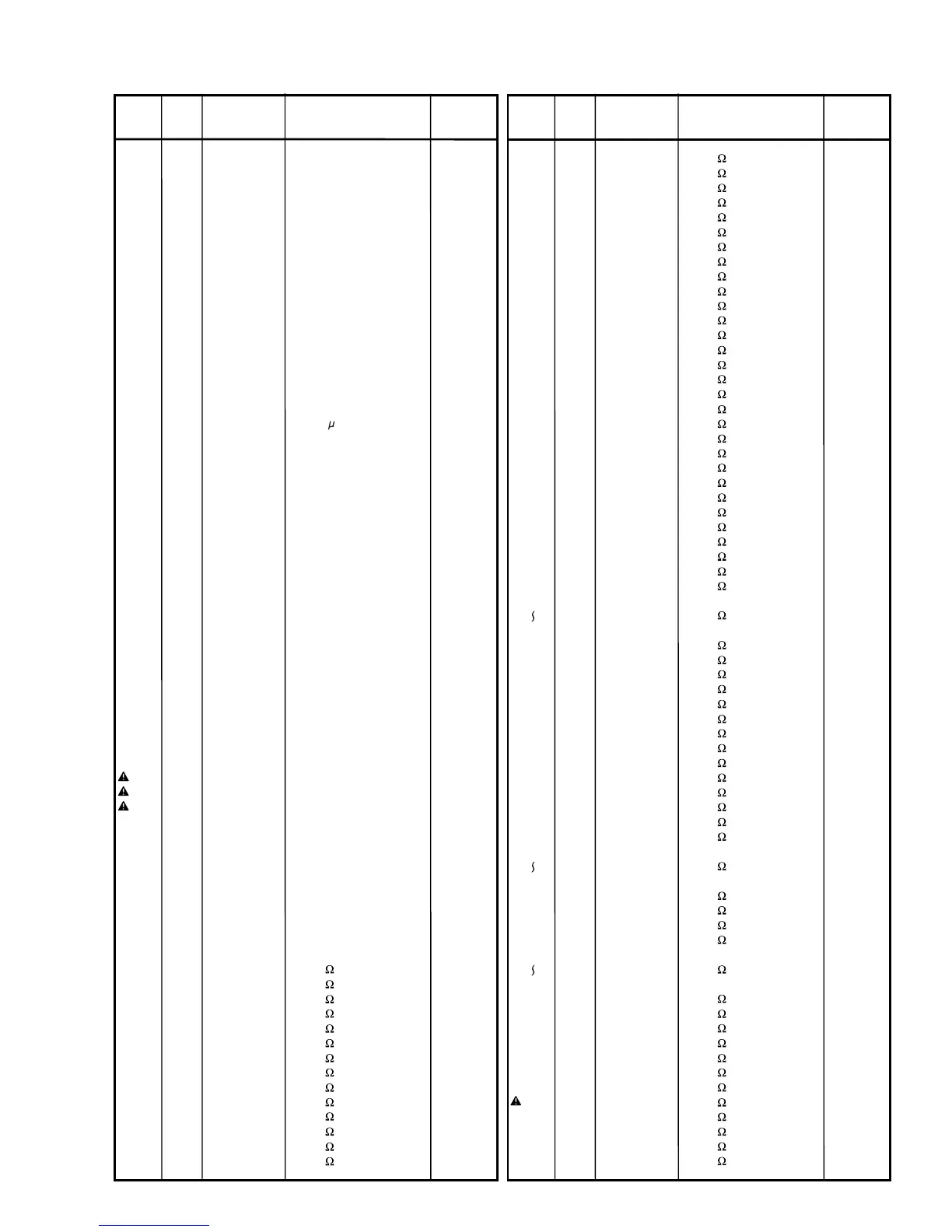
POS.
NO
VERS.
COLOR
PART NO.
(FOR PCS)
DESCRIPTION
PART NO.
(MJI)
(VERS. :VERSION, U:U.S.A., F:JAPAN, K:FAR EAST, N:EUROPE)
POS.
NO
VERS.
COLOR
PART NO.
(FOR PCS)
DESCRIPTION
PART NO.
(MJI)
(VERS. :VERSION, U:U.S.A., F:JAPAN, K:FAR EAST, N:EUROPE)
D905 9965 000 01250 1SS131M *HD201290R
D906 9965 000 01250 1SS131M *HD201290R
D907 9965 000 01250 1SS131M *HD201290R
INTEGRATED CIRCUITS
IC11 4822 209 71785 LA1266 HC10222030
IC31 4822 209 70261 LA3410 HC10198030
IC32 9965 000 01265 KA4558D *HC105110R
IC51 4822 209 30178 LC7218 HC10211032
IC81 4822 209 17453 BFU1923F *HC104810R
IC91 4822 209 16159 MICROPROCESSOR
ANAM1239T
*HU243WT0R
FUSE
F701 nsp HOLDER FUSE nsp
COILS
L102 4822 157 11873 COIL *LC107220R
L201 nsp COIL 6.8 H K nsp
L202 9965 000 01253 COIL AM ANT3 *TC000360R
L203 4822 157 11484 COIL AM OSC *LO000060R
L301 4822 157 11487 COIL MPX *LS000060R
L302 4822 157 11487 COIL MPX *LS000060R
L701 9965 000 01235 COIL INDUCTOR *TC000350R
TRANSISTORS
Q101 4822 130 63385 KTC3192O *HT300480R
Q102 4822 130 63385 KTC3192O *HT300480R
Q301 4822 130 62503 DTC114YS *BA000730R
Q303 4822 130 63659 DTC143TS *BA000700R
Q304 4822 130 63659 DTC143TS *BA000700R
Q305 4822 130 63659 DTC143TS *BA000700R
Q306 4822 130 63659 DTC143TS *BA000700R
Q307 4822 130 42682 DTA144ES BA10010210
Q308 4822 130 61187 DTA144TS BA10009210
Q501 4822 130 61189 DTC114TS BA20017210
Q502 4822 130 62787 DTA114YS *BA000190R
Q503 4822 130 62787 DTA114YS *BA000190R
Q504 4822 130 61189 DTC114TS BA20017210
Q511 4822 130 42431 2SC1740SR HT317401L0
Q512 4822 130 42431 2SC1740SR HT317401L0
Q701 4822 130 11135 KSD288Y *HT400350R
Q702 9965 000 01254 KTC3227Y *HT300490R
Q703 4822 130 11136 KTA1274Y *HT100320R
Q704 4822 130 42594 DTC144ES BA20012210
Q901 4822 130 62503 DTC114YS *BA000730R
Q902 4822 130 62787 DTA114YS *BA000190R
Q903 4822 130 62503 DTC114YS *BA000730R
Q905 4822 130 62787 DTA114YS *BA000190R
Q906 4822 130 60107 2SA933SR HT109331S0
Q907 4822 130 62503 DTC114YS *BA000730R
Q908 4822 130 62787 DTA114YS *BA000190R
RESISTORS
R103 nsp 47 1/5W J nsp
R104 nsp 390 1/5W J nsp
R105 nsp 1.2k 1/5W J nsp
R106 nsp 820k 1/5W J nsp
R107 nsp 560 1/5W J nsp
R108 nsp 470k 1/5W J nsp
R109 nsp 270 1/5W J nsp
R110 nsp 1.8k 1/5W J nsp
R111 nsp 1.5k 1/5W J nsp
R112 nsp 5.6k 1/5W J nsp
R115 nsp 15k 1/5W J nsp
R116 nsp 2.7k 1/5W J nsp
R117 nsp 15k 1/5W J nsp
R118 nsp 2.7k 1/5W J nsp
R119 nsp 1k 1/5W J nsp
R125 nsp 10 1/5W J nsp
R201 nsp 1k 1/5W J nsp
R202 nsp 100k 1/5W J nsp
R203 nsp 470 1/5W J nsp
R204 nsp 100k 1/5W J nsp
R205 nsp 10k 1/5W J nsp
R206 nsp 22k 1/5W J nsp
R207 nsp 22k 1/5W J nsp
R208 nsp 82 1/5W J nsp
R209 nsp 100k 1/5W J nsp
R301 nsp 3.9k 1/5W J nsp
R302 nsp 47 1/5W J nsp
R303 nsp 1k 1/5W J nsp
R304 nsp 10k 1/5W J nsp
R305 nsp 6.8k 1/5W J nsp
R306 nsp 22k 1/5W J nsp
R307 nsp 270 1/5W J nsp
R308 nsp 10k 1/5W J nsp
R309 nsp 10k 1/5W J nsp
R310 nsp 3.9k 1/5W J nsp
R311 nsp 1k 1/5W J nsp
R312 nsp 560 1/5W J nsp
R313 nsp 220k 1/5W J nsp
R315 nsp 91k 1/5W J nsp
R316 nsp 91k 1/5W J nsp
R317 nsp 150k 1/5W J nsp
R318 nsp 150k 1/5W J nsp
R319 nsp 10k 1/5W J nsp
R320 nsp 10k 1/5W J nsp
R321
nsp 3.3k 1/5W J nsp
R324
R325 nsp 100k 1/5W J nsp
R326 nsp 100k 1/5W J nsp
R327 nsp 3.3k 1/5W J nsp
R328 nsp 3.3k 1/5W J nsp
R329 nsp 1.1k 1/5W J nsp
R330 nsp 1.1k 1/5W J nsp
R331 nsp 100 1/5W J nsp
R332 nsp 100 1/5W J nsp
R333 nsp 100k 1/5W J nsp
R334 nsp 100k 1/5W J nsp
R335 nsp 100 1/5W J nsp
R336 nsp 100 1/5W J nsp
R501 nsp 1k 1/5W J nsp
R502 nsp 10k 1/5W J nsp
R505
nsp 10k 1/5W J nsp
R508
R510 nsp 1k 1/5W J nsp
R511 nsp 560 1/5W J nsp
R512 nsp 5.6k 1/5W J nsp
R513 nsp 10k 1/5W J nsp
R520
nsp 10k 1/5W J nsp
R524
R525 nsp 470k 1/5W J nsp
R527 nsp 10k 1/5W J nsp
R531 nsp 470k 1/5W J nsp
R532 nsp 470k 1/5W J nsp
R533 nsp 10k 1/5W J nsp
R601 nsp 10k 1/5W J nsp
R602 nsp 10k 1/5W J nsp
R701 9965 000 01262 27 1/2W J FUSE *NH000100R
R702 nsp 1k 1/5W J nsp
R703 nsp 100 1/5W J nsp
R704 nsp 1k 1/5W J nsp
R705 nsp 100 1/5W J nsp
19

Other manuals for Marantz ST4000

Related product manuals