EasyManua.ls Logo

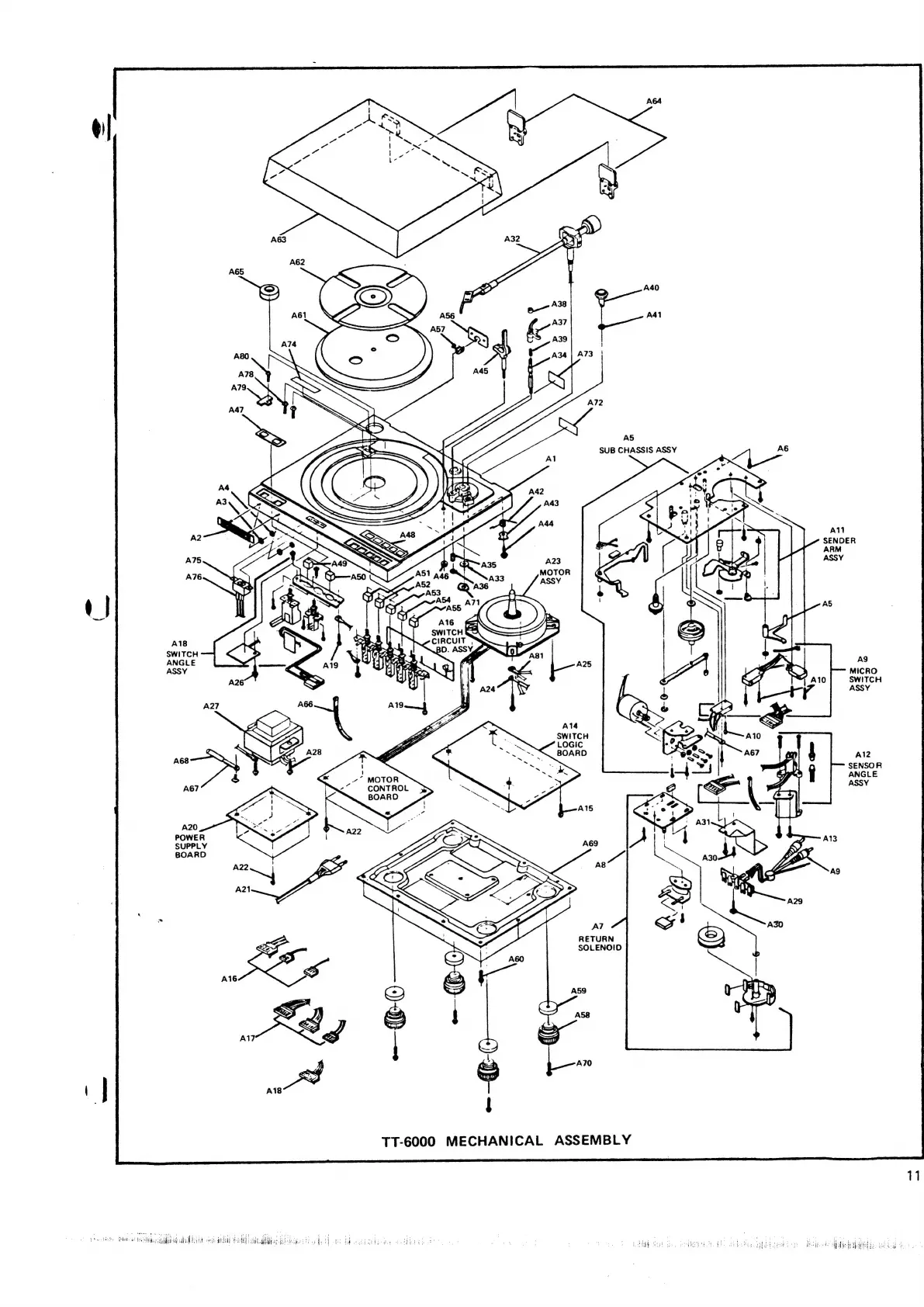
Marantz TT-6000 - Tt6000 Mechanical Assembly

Marantz TT-6000
16 pages
Print Icon
To Next Page IconTo Next Page
To Next Page IconTo Next Page
To Previous Page IconTo Previous Page
To Previous Page IconTo Previous Page
Loading...
11
A&
SUB
CHASSIS
ASSY
RETURN
SOLENOID
A58
A70
TT-6000
MECHANICAL
ASSEMBLY
CONTROL
BOARD
ata
~~”
MOTOR
A18
as
o
¢
A16
0]
|