EasyManua.ls Logo

Marcy ECLIPSE RS7000 - Page 7

Marcy ECLIPSE RS7000
42 pages
Print Icon
To Next Page IconTo Next Page
To Next Page IconTo Next Page
To Previous Page IconTo Previous Page
To Previous Page IconTo Previous Page
Loading...
Marcy Fitness www.marcyfitness.co.uk
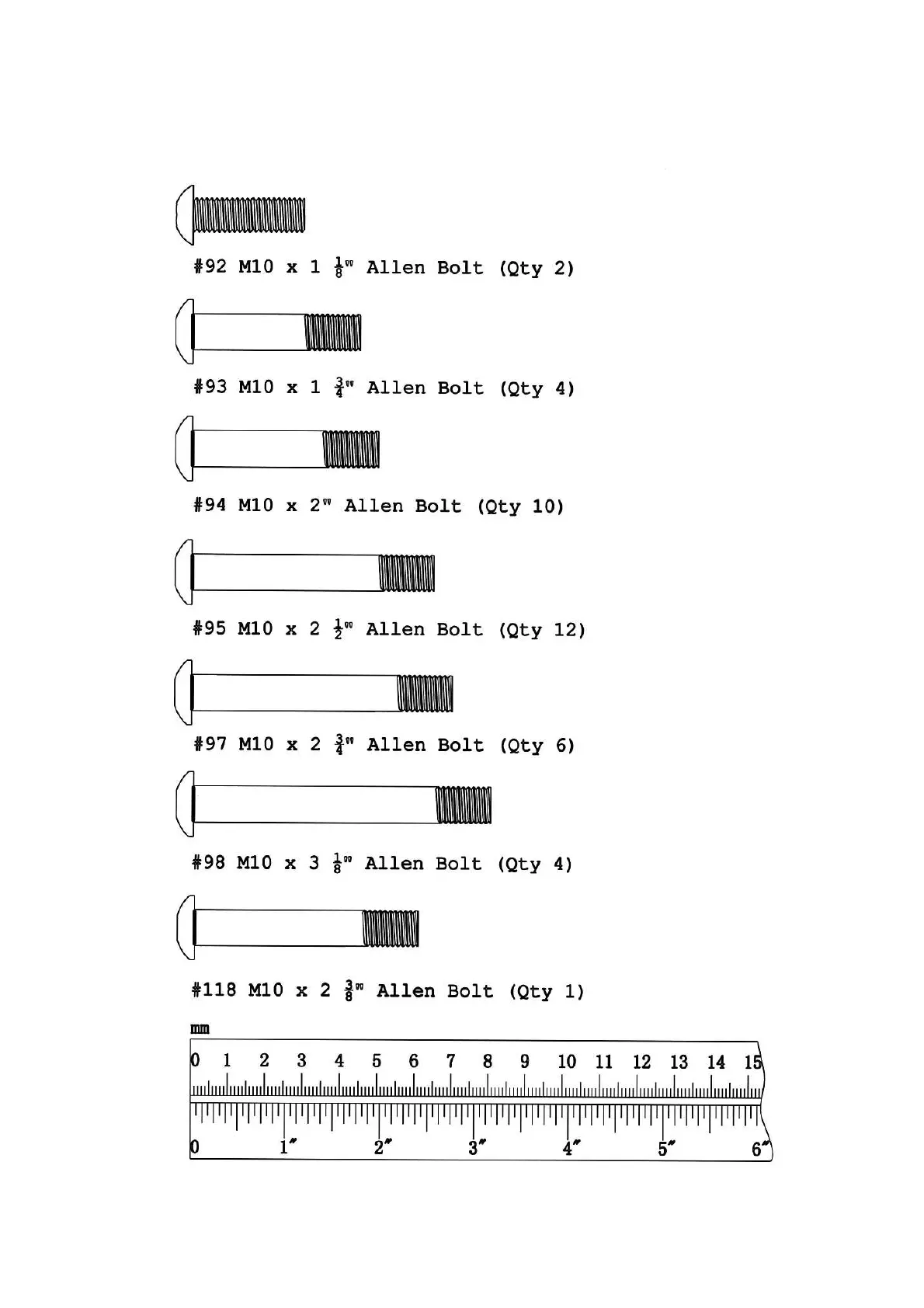
SMITH CAGE HARDWARE PACK
NOTE: The following parts are not drawn to scale. Please use your own ruler to measure the size.
5

Related product manuals