EasyManua.ls Logo

Master Forge 3218LTN - Page 66

Master Forge 3218LTN
104 pages
Print Icon
To Next Page IconTo Next Page
To Next Page IconTo Next Page
To Previous Page IconTo Previous Page
To Previous Page IconTo Previous Page
Loading...
INSTRUCCIONES DE ENSAMBLAJE
66
Lowes.com/masterfor
g
e
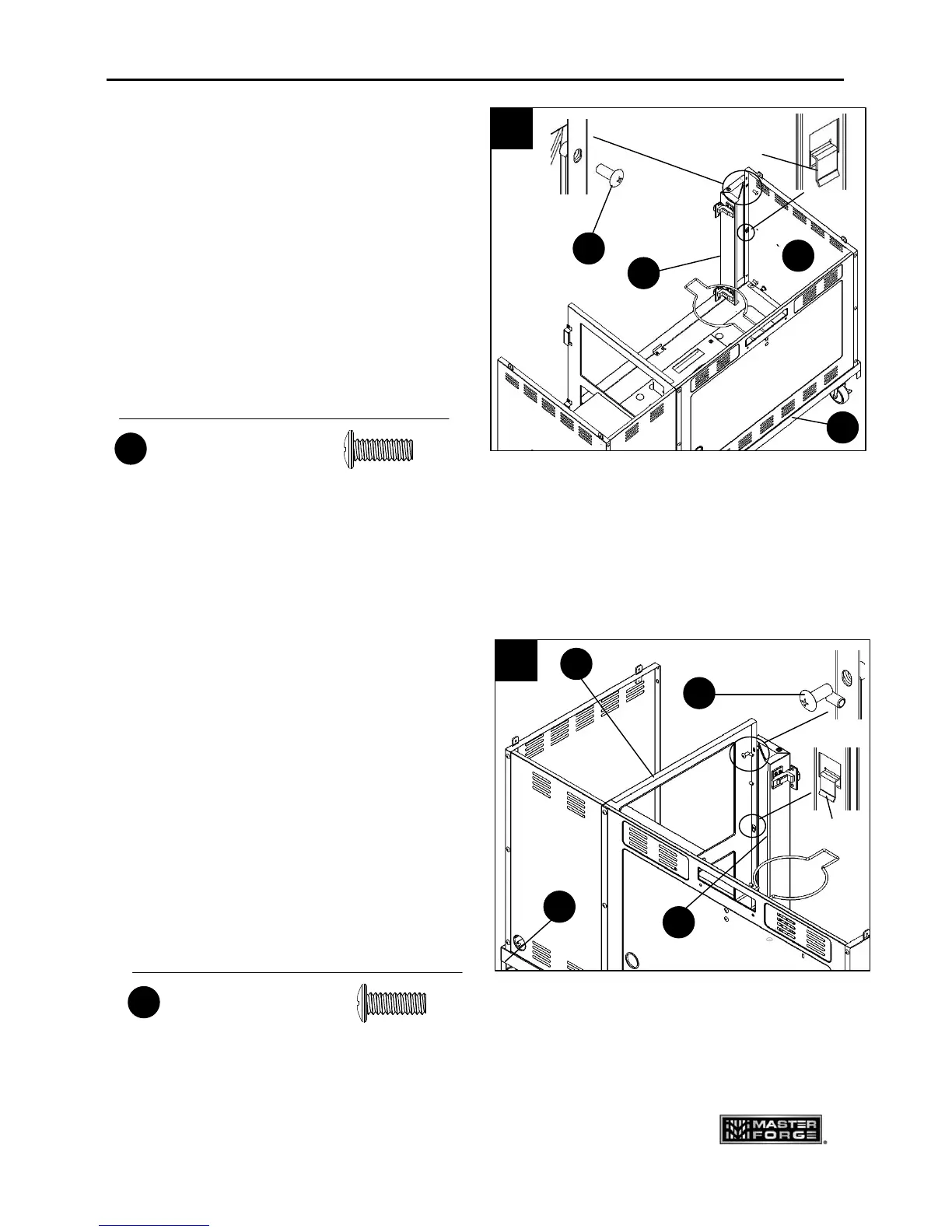
11. Hay cuatro tornillos (BB) para conectar
el faldón izquierdo (Z) al panel izquierdo (AB)
y el panel inferior principal (S): dos en el
panel izquierdo y dos dentro del gabinete.
Asegúrese de que la lengüeta A esté bien
segura en su lugar. Inserte los tornillos en
los orificios alineados y apriételos. Primero
debe colocar los dos tornillos dentro del
gabinete. (Fig. 11)
12. Inserte la “Lengüeta A” del faldón derecho
(V) en el orificio cuadrado del panel central (K)
y presione hacia abajo. Asegúrese de que la
lengüeta esté bien segura en su lugar. Hay
cuatro tornillos (BB) para conectar este
faldón al panel central (K) y el panel inferior
principal (S): dos en el panel del medio y dos
dentro del gabinete. Inserte los tornillos en
los orificios alineados y apriételos. Primero
debe colocar los dos tornillos dentro del
gabinete. (Fig. 12)
Aditamentos utilizados
Tornillo 1/4-20 x
5/8”
X 4
BB
Aditamentos utilizados
Tornillo 1/4-20 x
5/8”
X 4
BB
11
BB
Z
AB
S
Lengüeta A
Lengüeta A
12
BB
V
K
S

Table of Contents

Other manuals for Master Forge 3218LTN

Related product manuals