EasyManua.ls Logo

MasterCraft 054-6988-6

MasterCraft 054-6988-6
30 pages
To Next Page IconTo Next Page
To Next Page IconTo Next Page
To Previous Page IconTo Previous Page
To Previous Page IconTo Previous Page
Loading...
headline bars
continuation tabs
notes
warnings
25
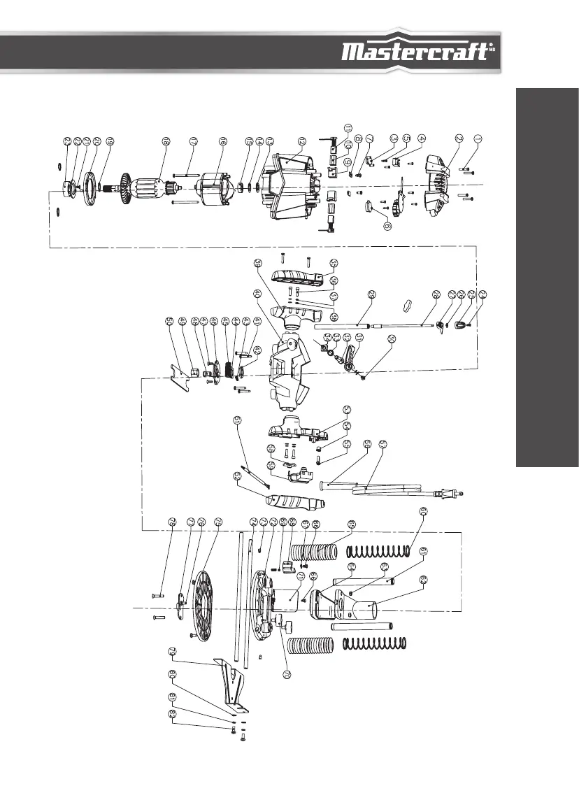
PARTS LIST
EXPLODED VIEW

Related product manuals