EasyManua.ls Logo

MFJ MFJ-941EK - Page 16

MFJ MFJ-941EK
36 pages
Print Icon
To Next Page IconTo Next Page
To Next Page IconTo Next Page
To Previous Page IconTo Previous Page
To Previous Page IconTo Previous Page
Loading...
MFJ-941EK Tuner Kit Instruction Manual
- 15 -
CONSTRUCTION
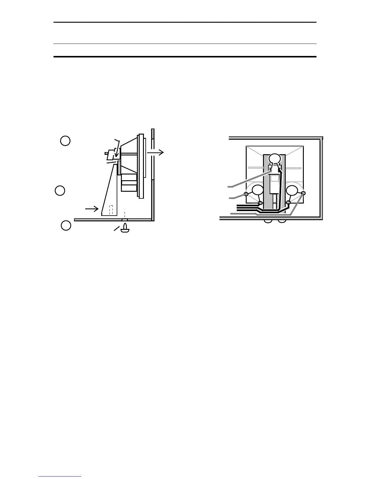
Refer to Diagram 9 below during meter installation.
Locate the adhesive foam-tape pad adhered to the rear of the meter assembly.
This pad is installed to cushion the meter bracket and provide tension. Do not
remove the protective layer of tape to expose the adhesive underneath!
.01
.01
.01
+
+
-
-
Red
Violet
White
Black (3)
Slide Meter Onto
Meter Bracket
1
Move Bracket
into Mounting
Location
2
Secure with
3/8" SM Screws
3
and Meter
Foam
Pad
Wiring Meter
Mounting Meter
Diagram 9: Meter Mounting and Wiring
[ ] Locate the lamp assembly that protrudes from the back of the meter.
[ ] Orienting the bracket as shown, gently lower the meter onto it.
[ ] Move into mounting position, aligning meter face with the panel opening.
[ ] With bracket aligned on mounting holes, install using two #6-3/8" SM screws.
Refer to Diagram 9 wiring pictorial, install the .01 capacitors and hookup wire
leads as shown:
[ ] Install a .01 uF capacitor across the (+) and (-) terminals of each meter.
[ ] Install a .01 uF capacitor across the terminals of the lamp assembly.
[ ] Trim and install a black wire to the minus (-) terminal of each meter.
[ ] Trim and install a black wire to either terminal of the meter lamp assembly.
[ ] Trim and install the (FMTR) violet lead to the (+) terminal, side meter.
[ ] Trim and install the (RMTR) white lead to the (+) terminal of the right meter.

Related product manuals