EasyManua.ls Logo

Midea mcd-24hrdn1 - Field Wiring

Midea mcd-24hrdn1
243 pages
Print Icon
To Next Page IconTo Next Page
To Next Page IconTo Next Page
To Previous Page IconTo Previous Page
To Previous Page IconTo Previous Page
Loading...
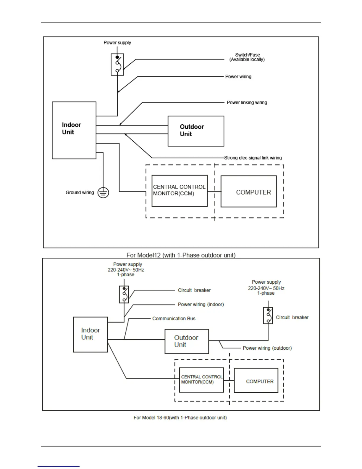
Field Wiring
Duct Type 55
10. Field Wiring

Table of Contents

Related product manuals