EasyManua.ls Logo

Midea RSJ-200/SZN1-540V1 - Page 83

Midea RSJ-200/SZN1-540V1
91 pages
Print Icon
To Next Page IconTo Next Page
To Next Page IconTo Next Page
To Previous Page IconTo Previous Page
To Previous Page IconTo Previous Page
Loading...
Midea R410A Direct Heating Type HPWH 50Hz Technical Manual MCAC-HTSM-201906
83
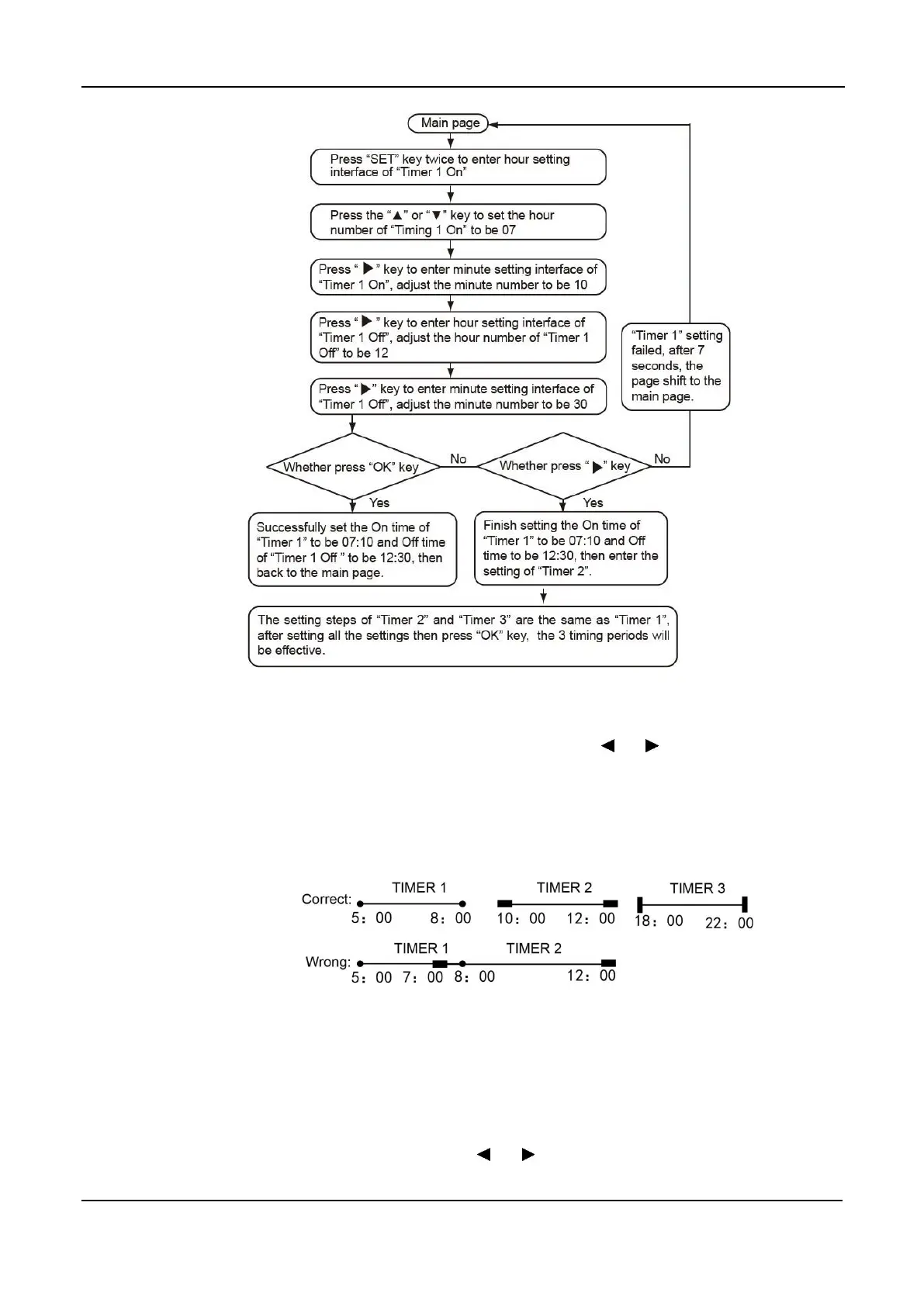
During any period of timing setting to press OK key, the timing periods which have been set will be effective
(only if the on and off of one timing period have been set, the setting is effective).
Check timing information: to check the timing which has been set, press or key under main page, the
on and off time of Timer 1, Timer 2 and Timer 3 will be displayed in turns.
Cancel timing: press and hold CANCEL key for 3 seconds, then all the effective timing periods will be
cancelled.
To avoid timing error, each period of timing should not be crossed, e.g.:
Set the cycle heating water temperature (Reserved)
Continuous press SET key 3 times to enter cycle heating water temperature setting. The LCD will display
‘SET CYCLE WATER TEMP.’ and temperature value will flash.
Press the or key to adjust the temperature value, press OK key or wait for 7 seconds to confirm.
During setting process pressing CANCEL key to exit without saving.
Check cycle water temperature value setting: press or key under main page to check the value.
Midea CAC Confidential

Related product manuals