EasyManua.ls Logo

Miele CVA6401 - Guide to the Appliance

Miele CVA6401
96 pages
Print Icon
To Next Page IconTo Next Page
To Next Page IconTo Next Page
To Previous Page IconTo Previous Page
To Previous Page IconTo Previous Page
Loading...
Guide to the appliance
15
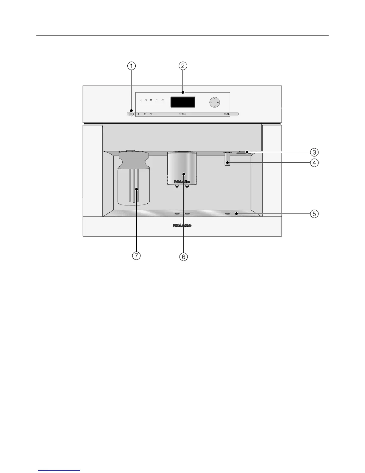
Front view
a
On / Off button
b
Controls and display
c
Door handle
d
Hot water dispenser
e
Drip tray cover
f
Height-adjustable main dispenser with lighting
g
Milk flask with lid

Table of Contents

Related product manuals