EasyManua.ls Logo

Miele DA 262 i - Cleaning and Care

Miele DA 262 i
28 pages
Print Icon
To Next Page IconTo Next Page
To Next Page IconTo Next Page
To Previous Page IconTo Previous Page
To Previous Page IconTo Previous Page
Loading...
Cleaning and care
Before any cleaning or maintenance
work, the extractor must be discon-
nected from the mains supply
(switch off at the wall socket and
remove plug or the fuse).
Cleaning
The cooker hood housing may be
cleaned using hot water to which a little
mild detergent has been added.
Dry with a soft cloth.
Never use a cleaner which scours
or contains chlorine, acids or soda.
These would damage the surface of
the cooker hood.
Grease filters
Re-usable metal grease filters are built-
in which remove solid particles (oil,
dust, etc.) from the kitchen vapors, pre-
venting soiling of the cooker hood.
The grease filters can be cleaned in a
dishwasher or by hand.
The grease filters should be cleaned
regularly to ensure a trouble free oper-
ation of the extractor fan, at least every
1 or 2 months, or when they are visibly
saturated or no longer effective.
An over-greasy filter can lead to
danger or fire.
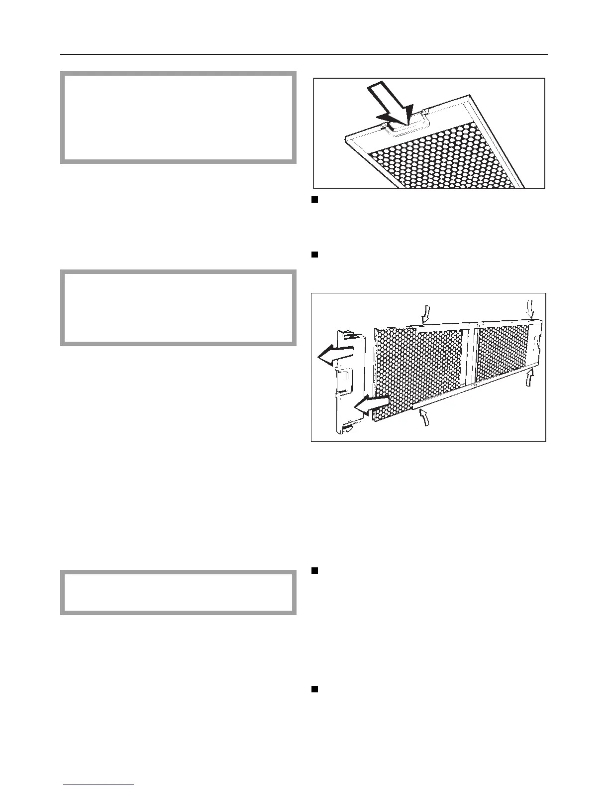
To remove the grease filters push the
filter holder retainers towards the
middle.
Take out the grease filters.
DA 272 i, DA 292 i only:
Press the clips at the side in using a
blunt instrument and remove the re-
tainers. Pull the filter cassettes and
link pieces out for cleaning. Clean
the edges of the frame by hand. The
other parts can be cleaned in the
dishwasher.
Clean the grease filters . . .
. . . by hand: with a scrubbing brush
in hot water with detergent.
. . . in a dishwasher: place the fil-
ters with the short side upright in the
lower basket, ensuring the spray
arm is not obstructed.
After cleaning, leave the filters to dry
for a while on an absorbent surface
before putting back in place.
Cleaning and care
10