EasyManua.ls Logo

Miele DG 4080 - Page 56

Miele DG 4080
60 pages
Print Icon
To Next Page IconTo Next Page
To Next Page IconTo Next Page
To Previous Page IconTo Previous Page
To Previous Page IconTo Previous Page
Loading...
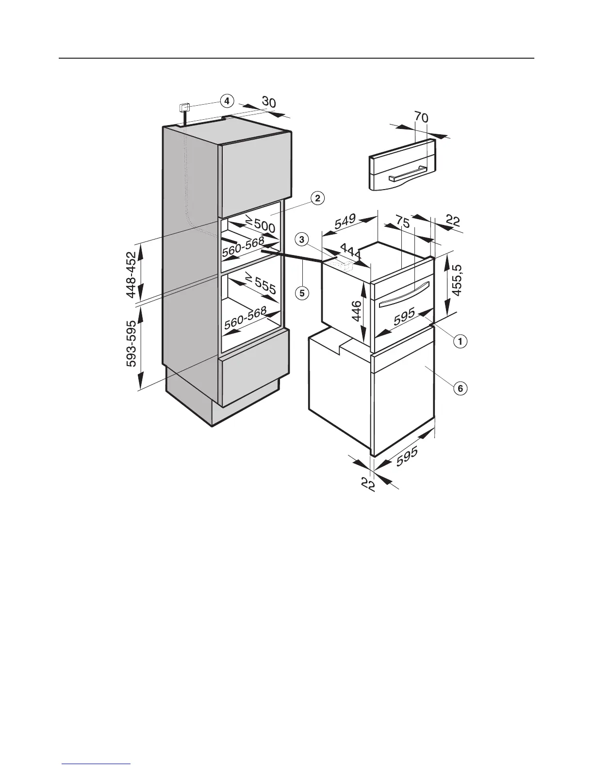
Installation in a tall unit in combination with an oven
a Steam oven
b Building-in recess
c Inlet for mains connection cable to the appliance
d Recommended position for electrical socket.
Important: Do not position behind the appliance!
e Mains connection cable
f Oven
Installation
56

Table of Contents

Other manuals for Miele DG 4080

Related product manuals